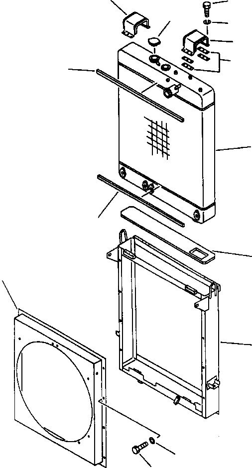
Запчасти Komatsu WA250-1LC РАДИАТОР ASSEMBLY КОМПОНЕНТЫ ДВИГАТЕЛЯ & ЭЛЕКТРИКА

Схема запчастей Komatsu WA250-1LC - РАДИАТОР ASSEMBLY КОМПОНЕНТЫ ДВИГАТЕЛЯ & ЭЛЕКТРИКА
9
11
2
12
9
10
5
1
5
4
6
3
8
7
FIT
1:1
100%

Артикул

Название

Примечание

Количество

|$0

418-03-11602

RADIATOR ASSEMBLY

1шт.

1

418-03-11900

CORE ASSEMBLY, RADIATOR

1шт.

2

421-03-11460

CAP

1шт.

3

418-03-11510

FRAME

1шт.

4

419-03-11180

SEAT

1шт.

5

419-03-11190

PACKING

1шт.

6

418-03-11612

SHROUD

1шт.

7

419-03-11320

CLIP

2шт.

8

01010-51020

BOLT

6шт.

9

01643-31032

WASHER

6шт.

10

419-03-11150

CLAMP

2шт.

11

419-03-11160

SEAT

2шт.

12

419-03-11170

SHIM, 0.6MM

16шт.

N/I

01010-50825

BOLT

8шт.

N/I

01602-20825

WASHER, SPRING

8шт.

N/I

419-03-11310

HOSE

1шт.

|$18

-1шт.

|$17

F1 - FOR MOUNTING HARDWARE, SEE PG 01-045.

-1шт.

|$19

-1шт.

Выбрано товаров: 0