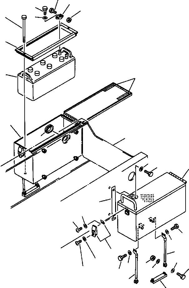
Запчасти Komatsu WA250-1LC АККУМУЛЯТОР И КОРПУС АККУМУЛЯТОРА КОМПОНЕНТЫ ДВИГАТЕЛЯ & ЭЛЕКТРИКА

Схема запчастей Komatsu WA250-1LC - АККУМУЛЯТОР И КОРПУС АККУМУЛЯТОРА КОМПОНЕНТЫ ДВИГАТЕЛЯ & ЭЛЕКТРИКА
2
5
4
8
6
7
1
26
10
27
25
13
12
9
11
17
16
23
24
18
14
21
17
22
20
24
15
21
23
18
19
3
FIT
1:1
100%

Артикул

Название

Примечание

Количество

1

134-06-A1110

BATTERY, 12V, 250AH

2шт.

2

08030-00010

TERMINAL (+)

2шт.

2

08030-00012

TERMINAL (-)

2шт.

3

01010-30830

BOLT

1шт.

4

01580-00806

NUT

1шт.

5

01050-31018

BOLT

1шт.

6

01640-01016

WASHER

1шт.

7

418-06-A1130

HOLDER

2шт.

8

418-09-11121

BOLT

4шт.

9

418-06-A1110

BATTERY BOX, LH

1шт.

10

418-06-A1120

BATTERY BOX, RH

1шт.

11

418-06-11160

SHIM 1.0MM

4шт.

12

01010-51430

BOLT

8шт.

13

01643-31445

WASHER

8шт.

14

421-09-12321

HOLDER

2шт.

15

01220-40408

SCREW

6шт.

16

01220-40410

SCREW

4шт.

17

01641-20405

WASHER

10шт.

18

423-54-14260

WIRE ROPE

4шт.

19

423-54-12770

STEP

2шт.

20

01010-51265

BOLT

4шт.

21

01643-31232

WASHER

8шт.

22

426-43-19150

NUT, LOCK

4шт.

23

01010-51230

BOLT

8шт.

24

01643-31232

WASHER

8шт.

25

426-09-11230

GROMMET

2шт.

26

421-09-12780

CUSHION, STRIP

4шт.

27

REAR FRAME (SEE PG 05-006)

-29шт.

Выбрано товаров: 28