Запчасти Komatsu WA250-3 LOG LUMBER ВИЛЫ ЗАХВАТ (ГИДРОЛИНИЯ) РАБОЧЕЕ ОБОРУДОВАНИЕ

Схема запчастей Komatsu WA250-3 - LOG LUMBER ВИЛЫ ЗАХВАТ (ГИДРОЛИНИЯ) РАБОЧЕЕ ОБОРУДОВАНИЕ
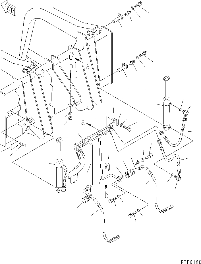
1
1
2
3
4
5
6
6
7
8
9
10
10
11
12
13
14
15
16
16
17
18
19
20
20
20
21
21
22
22
23
24
25
26
27
28
29
30
31
31
32
33
FIT
1:1
100%

Артикул

Название

Примечание

Количество

1

07124-20609

HOSE

SN: 53001-UP

2шт.

2

07000-13025

O-RING

SN: 53001-UP

2шт.

3

07371-30638

FLANGE,SPLIT

SN: 53001-UP

4шт.

4

01010-30830

BOLT

SN: 53001-UP

8шт.

5

01643-50823

WASHER

SN: 53001-UP

8шт.

6

07128-10600

JOINT

SN: 53001-UP

2шт.

7

07000-13030

O-RING

SN: 53001-UP

2шт.

8

01010-30840

BOLT

SN: 53001-UP

4шт.

9

01010-30855

BOLT

SN: 53001-UP

4шт.

10

01643-50823

WASHER

SN: 53001-UP

8шт.

11

07283-22738

CLIP

SN: 53001-UP

2шт.

12

01643-31032

WASHER

SN: 53001-UP

4шт.

13

01599-01011

NUT

SN: 53001-UP

4шт.

14

418-881-1140

TUBE,L.H.

SN: 53001-UP

1шт.

15

418-881-1150

TUBE,R.H.

SN: 53001-UP

1шт.

16

144-Z20-9260

CLAMP

SN: 53001-UP

2шт.

17

419-881-1180

SPACER

SN: 53001-UP

2шт.

18

01010-31050

BOLT

SN: 53001-UP

2шт.

19

01643-31032

WASHER

SN: 53001-UP

2шт.

20

07123-20407

HOSE

SN: 53001-UP

4шт.

21

07235-10422

ELBOW

SN: 53001-UP

4шт.

22

07002-12034

O-RING

SN: 53001-UP

4шт.

23

417-881-1220

PIN

SN: 53001-UP

2шт.

24

07020-00000

FITTING,GREASE

SN: 53001-UP

2шт.

25

175-54-34170

WASHER

SN: 53001-UP

2шт.

26

01010-31220

BOLT

SN: 53001-UP

2шт.

27

417-881-1230

PIN

SN: 53001-UP

2шт.

28

07020-00000

FITTING,GREASE

SN: 53001-UP

2шт.

29

01010-31220

BOLT

SN: 53001-UP

2шт.

30

175-54-34170

WASHER

SN: 53001-UP

2шт.

31

707-00-80330

CYLINDER ASS'Y

SN: 53001-UP

2шт.

32

0

PLATE, NAME,(LIMITED SUPPLY)

SN: 53001-UP

1шт.

33

04418-13060

SCREW

SN: 53001-UP

4шт.

Выбрано товаров: 0