Запчасти Komatsu WA250-3L FIG. K-A ДВИГАТЕЛЬ THROTTLE УПРАВЛ-Е - ПЕДАЛЬ УПРАВЛ-Я ASSEMBLY КАБИНА ОПЕРАТОРА И СИСТЕМА УПРАВЛЕНИЯ

Схема запчастей Komatsu WA250-3L - FIG. K-A ДВИГАТЕЛЬ THROTTLE УПРАВЛ-Е - ПЕДАЛЬ УПРАВЛ-Я ASSEMBLY КАБИНА ОПЕРАТОРА И СИСТЕМА УПРАВЛЕНИЯ
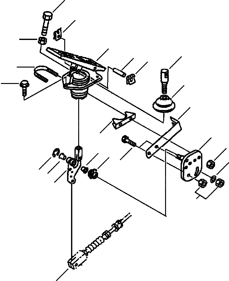
17
12
18
1
10
11
12
7
15
20
13
2
9
8
5
4
19
16
6
5
3
14
21
FIT
1:1
100%

Артикул

Название

Примечание

Количество

|$0

417-43-21110

PEDAL ASSEMBLY

SN: A70001-UP-UP

1шт.

1

417-43-11210

PEDAL AND BODY ASSEMBLY

SN: A70001-UP-UP

1шт.

2

417-43-11220

PLATE

SN: A70001-UP-UP

1шт.

3

417-43-11230

LEVER

SN: A70001-UP-UP

1шт.

4

417-43-11240

SPRING

SN: A70001-UP-UP

1шт.

5

417-43-11250

BEARING

SN: A70001-UP-UP

2шт.

6

417-43-11260

CLIP

SN: A70001-UP-UP

1шт.

7

417-43-11270

U-BOLT

SN: A70001-UP-UP

1шт.

8

417-43-11280

NUT

SN: A70001-UP-UP

2шт.

9

417-43-11290

SUPPORT

SN: A70001-UP-UP

1шт.

10

417-43-11310

ROD

SN: A70001-UP-UP

1шт.

11

417-43-11320

PIN

SN: A70001-UP-UP

1шт.

12

417-43-11330

CLIP

SN: A70001-UP-UP

2шт.

13

417-43-11340

SUPPORT

SN: A70001-UP-UP

1шт.

14

417-43-11350

NUT

SN: A70001-UP-UP

2шт.

15

417-43-11360

BOOT

SN: A70001-UP-UP

1шт.

16

01010-80616

BOLT

SN: A70001-UP-UP

2шт.

17

01016-50870

BOLT

SN: A70001-UP-UP

1шт.

18

01580-10806

NUT

SN: A70001-UP-UP

1шт.

19

01643-30623

WASHER

SN: A70001-UP-UP

1шт.

20

01435-00620

BOLT

SN: A70001-UP-UP

3шт.

21

CONTROL CABLE ASSEMBLY(SEE FIG. K4410-02A0)

SN: A70001-UP-UP

-1шт.

Выбрано товаров: 22