Запчасти Komatsu WA250-3MC F-A НАСОС ТРАНСМИССИИ И ФИЛЬТР. ТРУБЫ СИЛОВАЯ ПЕРЕДАЧА И КОНЕЧНАЯ ПЕРЕДАЧА

Схема запчастей Komatsu WA250-3MC - F-A НАСОС ТРАНСМИССИИ И ФИЛЬТР. ТРУБЫ СИЛОВАЯ ПЕРЕДАЧА И КОНЕЧНАЯ ПЕРЕДАЧА
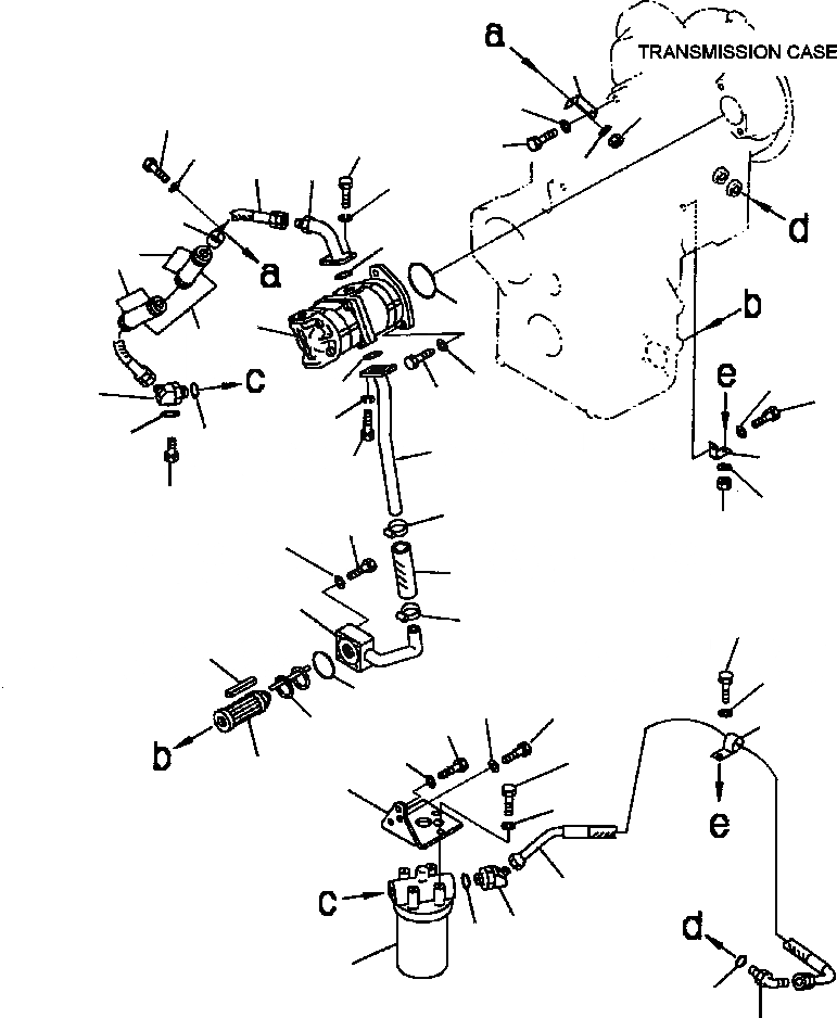
38
46
41
42
26
40
45
24
37
40
27
39
25
29
2
1
28
40
4
21
31
42
3
23
47
32
20
43
22
48
40
19
16
41
17
18
14
19
44
13
40
15
9
8
36
39
12
6
35
11
5
7
30
31
32
10
34
33
FIT
1:1
100%

Артикул

Название

Примечание

Количество

|$0

TRANSMISSION ASSEMBLY (SEE FIG. F4350-51A0 )

SN: A71001 --UP

-1шт.

1

-1шт.

1

PUMP ASSEMBLY (SEE FIG. F4350-67A1 )

SN: A71001 --UP

-1шт.

2

07000-02105

O-RING

SN: A71001 --UP

1шт.

3

01010-31235

BOLT

SN: A71001 --UP

2шт.

4

01643-31232

WASHER

SN: A71001 --UP

2шт.

5

714-12-18780

SUPPORT

SN: A71001 --UP

1шт.

6

01010-81035

BOLT

SN: A71001 --UP

4шт.

7

01643-31032

WASHER

SN: A71001 --UP

4шт.

8

01010-31235

BOLT

SN: A71001 --UP

1шт.

9

01643-31232

WASHER

SN: A71001 --UP

1шт.

10

714-07-28701

FILTER ASSEMBLY

SN: A71001 --UP

1шт.

|$12

714-07-28712

CARTRIDGE

SN: A71001 --UP

1шт.

|$13

419-15-14510

STRAINER ASSEMBLY

SN: A71001 --UP

1шт.

11

419-15-14650

STRAINER

SN: A71001 --UP

1шт.

12

419-15-14660

SPRING, SUPPORT

SN: A71001 --UP

1шт.

13

417-15-14660

MAGNET

SN: A71001 --UP

5шт.

14

714-12-18140

FLANGE

SN: A71001 --UP

1шт.

15

07000-02085

O-RING

SN: A71001 --UP

1шт.

16

01010-81080

BOLT

SN: A71001 --UP

4шт.

17

01643-31032

WASHER

SN: A71001 --UP

4шт.

18

419-15-14752

HOSE

SN: A71001 --UP

1шт.

19

07281-00489

CLAMP

SN: A71001 --UP

2шт.

20

714-13-18150

TUBE

SN: A71001 --UP

1шт.

21

07000-73048

O-RING

SN: A71001 --UP

1шт.

22

01010-31245

BOLT

SN: A71001 --UP

4шт.

23

01602-21236

WASHER, SPRING

SN: A71001 --UP

4шт.

24

419-15-14540

TUBE

SN: A71001 --UP

1шт.

25

07000-73028

O-RING

SN: A71001 --UP

1шт.

26

01010-60835

BOLT

SN: A71001 --UP

4шт.

27

01602-20825

WASHER, SPRING

SN: A71001 --UP

4шт.

28

205-62-53780

COVER

SN: A71001 --UP

2шт.

29

08034-20519

BAND

SN: A71001 --UP

4шт.

30

714-13-18410

HOSE

SN: A71001 --UP

2шт.

31

714-13-18100

ELBOW

SN: A71001 --UP

1шт.

32

07002-03334

O-RING

SN: A71001 --UP

2шт.

33

07235-10628

ELBOW

SN: A71001 --UP

1шт.

34

07002-02434

O-RING

SN: A71001 --UP

2шт.

35

01643-31232

WASHER

SN: A71001 --UP

2шт.

36

01010-31270

BOLT

SN: A71001 --UP

2шт.

37

07102-20609

HOSE

SN: A71001 --UP

1шт.

38

419-15-14550

PLATE

SN: A71001 --UP

1шт.

39

08036-23014

CLIP

SN: A71001 --UP

2шт.

40

01643-31032

WASHER

SN: A71001 --UP

5шт.

41

01580-01008

NUT

SN: A71001 --UP

2шт.

42

01010-81025

BOLT

SN: A71001 --UP

2шт.

43

425-35-11830

PLATE

SN: A71001 --UP

1шт.

44

01010-81020

BOLT

SN: A71001 --UP

1шт.

45

01010-31245

BOLT

SN: A71001 --UP

1шт.

46

01643-31232

WASHER

SN: A71001 --UP

1шт.

47

07002-11023

O-RING

SN: A71001 --UP

1шт.

48

07040-11007

PLUG

SN: A71001 --UP

1шт.

Выбрано товаров: 52