Запчасти Komatsu WA250-3MC K-A OPERATOR КАБИНА ЛЕВ. ДВЕРЬ ЭЛЕМЕНТЫ КРЕПЛЕНИЯ (заводской номер A7-A7 ) OPERATORXD S ОБСТАНОВКА И СИСТЕМА УПРАВЛЕНИЯ

Схема запчастей Komatsu WA250-3MC - K-A OPERATOR КАБИНА ЛЕВ. ДВЕРЬ ЭЛЕМЕНТЫ КРЕПЛЕНИЯ (заводской номер A7-A7 ) OPERATORXD S ОБСТАНОВКА И СИСТЕМА УПРАВЛЕНИЯ
24
18
17
23
22
8
21
19
20
16
10
6
9
11
7
5
3
2
16
14
1
15
12
4
13
FIT
1:1
100%

Артикул

Название

Примечание

Количество

|$0

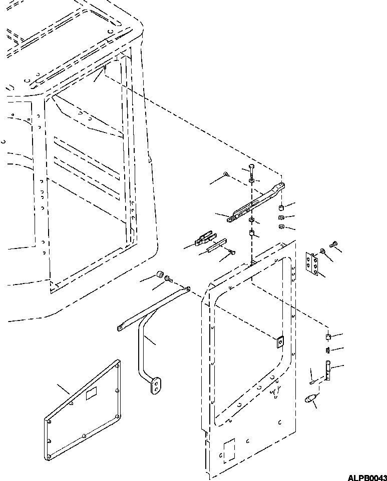
CAB ASSEMBLY (SEE FIG. K0210-01A0 )

SN: A71001-A71003-UP

-1шт.

|$1

DOOR ASSEMBLY, L.H. (SEE FIG. K0210-11A0 )

SN: A71001-A71003-UP

-1шт.

1

423-926-2830

HANDRAIL

SN: A71001-A71003-UP

1шт.

2

01435-01025

BOLT

SN: A71001-A71003-UP

3шт.

3

363-54-31450

CAP

SN: A71001-A71003-UP

3шт.

4

419-926-AB50

COVER

SN: A71001-A71003-UP

1шт.

5

417-926-A280

HINGE

SN: A71001-A71003-UP

2шт.

6

01010-80825

BOLT

SN: A71001-A71003-UP

12шт.

7

01643-30823

WASHER

SN: A71001-A71003-UP

4шт.

8

418-926-2160

PLATE

SN: A71001-A71003-UP

1шт.

9

419-926-AB60

COVER

SN: A71001-A71003-UP

1шт.

10

423-56-21750

SPRING

SN: A71001-A71003-UP

1шт.

11

01435-00610

BOLT

SN: A71001-A71003-UP

4шт.

12

423-56-21730

ROD

SN: A71001-A71003-UP

1шт.

13

423-56-21740

KNOB

SN: A71001-A71003-UP

1шт.

14

421-56-11640

SPRING

SN: A71001-A71003-UP

1шт.

15

421-56-11840

PIN

SN: A71001-A71003-UP

1шт.

16

421-56-11652

BUSHING

SN: A71001-A71003-UP

2шт.

17

423-56-21780

PLATE

SN: A71001-A71003-UP

1шт.

18

01435-00616

BOLT

SN: A71001-A71003-UP

1шт.

19

01643-31232

WASHER

SN: A71001-A71003-UP

1шт.

20

424-926-A330

RETAINING RING

SN: A71001-A71003-UP

1шт.

21

01643-21223

WASHER

SN: A71001-A71003-UP

1шт.

22

421-56-11652

BUSHING

SN: A71001-A71003-UP

1шт.

23

424-926-A340

CUSHION

SN: A71001-A71003-UP

1шт.

24

424-926-A320

STUD

SN: A71001-A71003-UP

1шт.

Выбрано товаров: 26