Запчасти Komatsu WA250-3MC K-9A OPERATOR КАБИНА ЛЕВ. ДВЕРЬ ЭЛЕМЕНТЫ КРЕПЛЕНИЯ (заводской номер A7- ) OPERATORXD S ОБСТАНОВКА И СИСТЕМА УПРАВЛЕНИЯ

Схема запчастей Komatsu WA250-3MC - K-9A OPERATOR КАБИНА ЛЕВ. ДВЕРЬ ЭЛЕМЕНТЫ КРЕПЛЕНИЯ (заводской номер A7- ) OPERATORXD S ОБСТАНОВКА И СИСТЕМА УПРАВЛЕНИЯ
3
11
2
10
4
16
1
12
9
15
14
13
9
7
8
6
5
FIT
1:1
100%

Артикул

Название

Примечание

Количество

|$0

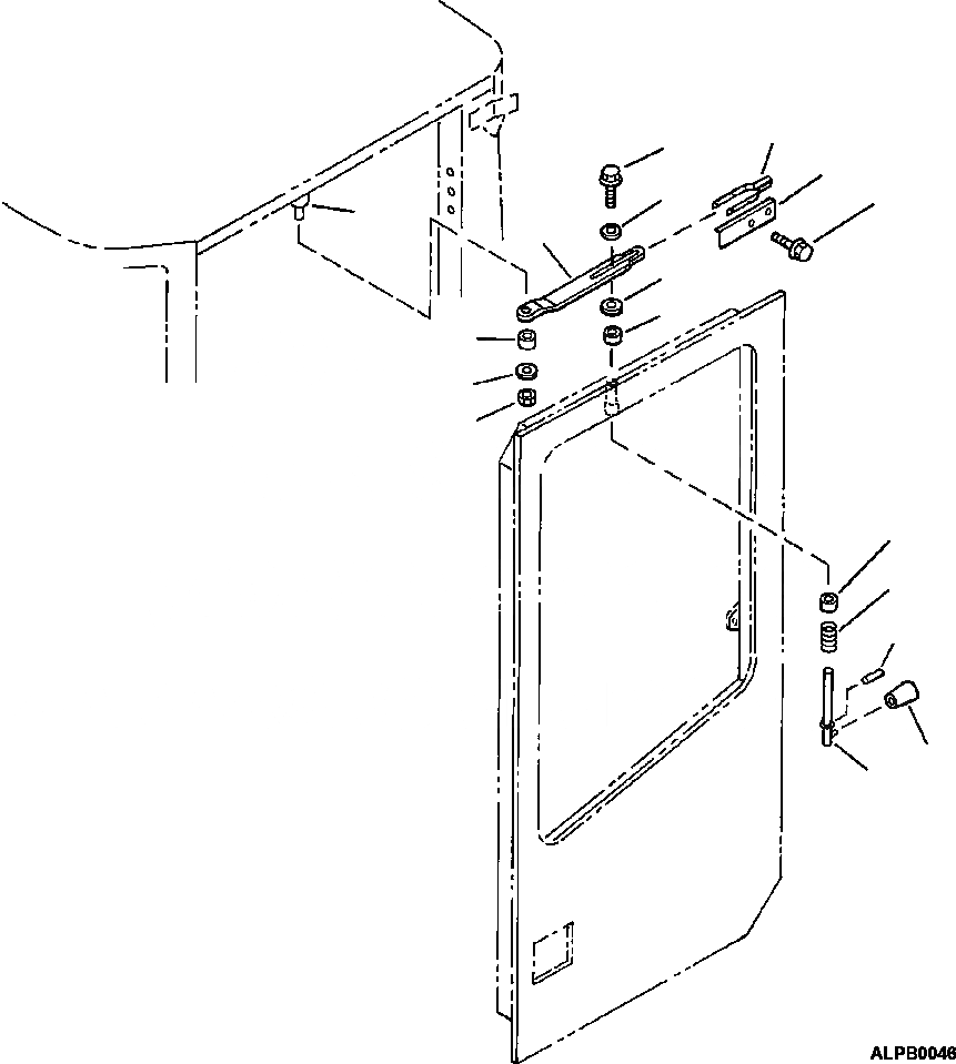
CAB ASSEMBLY (SEE FIG. K0210-01A0 )

SN: A71004--UP

-1шт.

|$1

DOOR ASSEMBLY, L.H. (SEE FIG. K0210-17A0 )

SN: A71004--UP

-1шт.

1

423-926-2390

PLATE

SN: A71004--UP

1шт.

2

419-926-AB60

COVER, L.H.

SN: A71004--UP

1шт.

3

423-56-21750

SPRING

SN: A71004--UP

1шт.

4

01435-00610

BOLT

SN: A71004--UP

4шт.

5

423-56-21730

ROD

SN: A71004--UP

1шт.

6

423-56-21740

KNOB

SN: A71004--UP

1шт.

7

421-56-11640

SPRING

SN: A71004--UP

1шт.

8

421-56-11840

PIN

SN: A71004--UP

1шт.

9

421-56-11652

BUSHING

SN: A71004--UP

2шт.

10

423-56-21780

PLATE

SN: A71004--UP

1шт.

11

01435-00616

BOLT

SN: A71004--UP

1шт.

12

01643-31232

WASHER

SN: A71004--UP

1шт.

13

01598-01011

NUT

SN: A71004--UP

1шт.

14

421-62-14740

WASHER

SN: A71004--UP

1шт.

15

421-56-11652

BUSHING

SN: A71004--UP

1шт.

16

424-926-A320

STUD

SN: A71004--UP

1шт.

Выбрано товаров: 18