Запчасти Komatsu WA250-3MC K8-A РАДИО AM/FM CASSETTE OPERATORXD S ОБСТАНОВКА И СИСТЕМА УПРАВЛЕНИЯ

Схема запчастей Komatsu WA250-3MC - K8-A РАДИО AM/FM CASSETTE OPERATORXD S ОБСТАНОВКА И СИСТЕМА УПРАВЛЕНИЯ
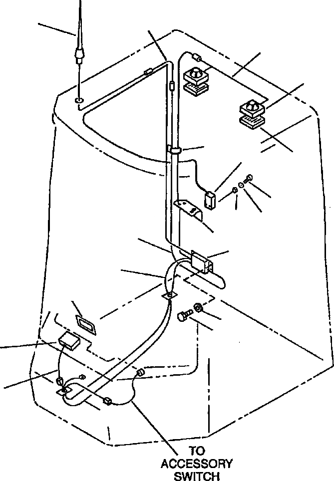
2
7
4
10
1
5
11
12
13
3
9
17
8
19
18
6
15
16
14
FIT
1:1
100%

Артикул

Название

Примечание

Количество

1

417-967-A030

CRADLE, RADIO MODULE

SN: A71001 --UP

1шт.

2

417-967-A180

ANTENNA

SN: A71001 --UP

1шт.

3

417-967-A190

ANTENNA EXTENSION, 48 IN

SN: A71001 --UP

1шт.

4

417-967-A160

SPEAKER

SN: A71001 --UP

2шт.

5

417-967-A170

GRILLE

SN: A71001 --UP

2шт.

6

417-967-A040

CASSETTE DECK

SN: A71001 --UP

1шт.

7

417-967-A111

HARNESS, SPEAKER

SN: A71001 --UP

1шт.

8

417-967-A140

HARNESS, CASSETTE WIRING

SN: A71001 --UP

1шт.

9

417-967-A250

BRACKET, REMOTE CONTROL

SN: A71001 --UP

1шт.

10

421-54-15520

CLIP

SN: A71001 --UP

1шт.

11

01220-40420

SCREW

SN: A71001 --UP

2шт.

12

01580-10403

NUT

SN: A71001 --UP

2шт.

13

01641-20405

WASHER

SN: A71001 --UP

2шт.

14

417-967-A220

ANTENNA EXTENSION, 12 IN

SN: A71001 --UP

1шт.

15

417-967-A280

CABLE

SN: A71001 --UP

1шт.

16

417-967-A150

PLATE, DIN MOUNTING

SN: A71001 --UP

1шт.

17

417-967-A010

MODULE, RADIO/STEREO

SN: A71001 --UP

1шт.

18

417-967-A090

SCREW

SN: A71001 --UP

4шт.

19

01643-30623

WASHER

SN: A71001 --UP

4шт.

N/I

417-967-A080

HARDWARE KIT, RADIO

SN: A71001 --UP

1шт.

N/I

01220-40420

SCREW

SN: A71001 --UP

2шт.

N/I

01641-20405

WASHER

SN: A71001 --UP

2шт.

N/I

01580-10403

NUT

SN: A71001 --UP

2шт.

N/I

306 137 C1

STRAP

SN: A71001 --UP

8шт.

N/I

935 522 C1

NYLON TIE

SN: A71001 --UP

4шт.

Выбрано товаров: 25