Запчасти Komatsu WA250-3MC T-A EXTENDABLE СТРЕЛА РАБОЧЕЕ ОБОРУДОВАНИЕ

Схема запчастей Komatsu WA250-3MC - T-A EXTENDABLE СТРЕЛА РАБОЧЕЕ ОБОРУДОВАНИЕ
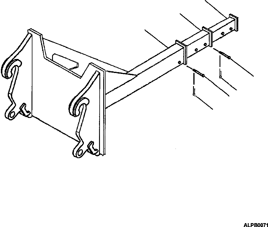
1
2
3
5
6
4
6
FIT
1:1
100%

Артикул

Название

Примечание

Количество

|$0

418-U77-A190

EXTENDABLE BOOM, THREE-SECTION

SN: A71001 --UP

1шт.

1

NSS

TUBE, END

SN: A71001 --UP

1шт.

2

NSS

TUBE, CENTER

SN: A71001 --UP

1шт.

3

NSS

TUBE, BASE

SN: A71001 --UP

1шт.

4

NSS

PIN

SN: A71001 --UP

1шт.

5

NSS

PIN

SN: A71001 --UP

1шт.

6

NSS

PIN, COTTER

SN: A71001 --UP

2шт.

Выбрано товаров: 7