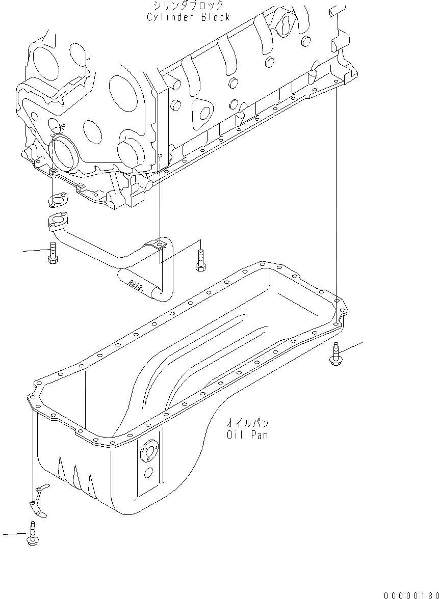
Запчасти Komatsu WA250-5 МАСЛЯНЫЙ ПОДДОН БОЛТ AA ДВИГАТЕЛЬ

Схема запчастей Komatsu WA250-5 - МАСЛЯНЫЙ ПОДДОН БОЛТ AA ДВИГАТЕЛЬ
3
2
1
FIT
1:1
100%

Артикул

Название

Примечание

Количество

1

6732-21-6610

BOLT

SN: 26302312-UP

33шт.

2

6732-21-5160

BOLT

SN: 26302312-UP

3шт.

3

6732-21-6630

BOLT

SN: 26302312-UP

2шт.

Выбрано товаров: 3