Запчасти Komatsu WA250-6 КАПОТ, ПРЕФИЛЬТР (№7-) КАПОТ, С ПРЕФИЛЬТР TURBO , С ЗАЩИТА ОТ ВАНДАЛИЗМА, С ЗАДН. ПОЛН. КРЫЛО

Схема запчастей Komatsu WA250-6 - КАПОТ, ПРЕФИЛЬТР (№7-) КАПОТ, С ПРЕФИЛЬТР TURBO , С ЗАЩИТА ОТ ВАНДАЛИЗМА, С ЗАДН. ПОЛН. КРЫЛО
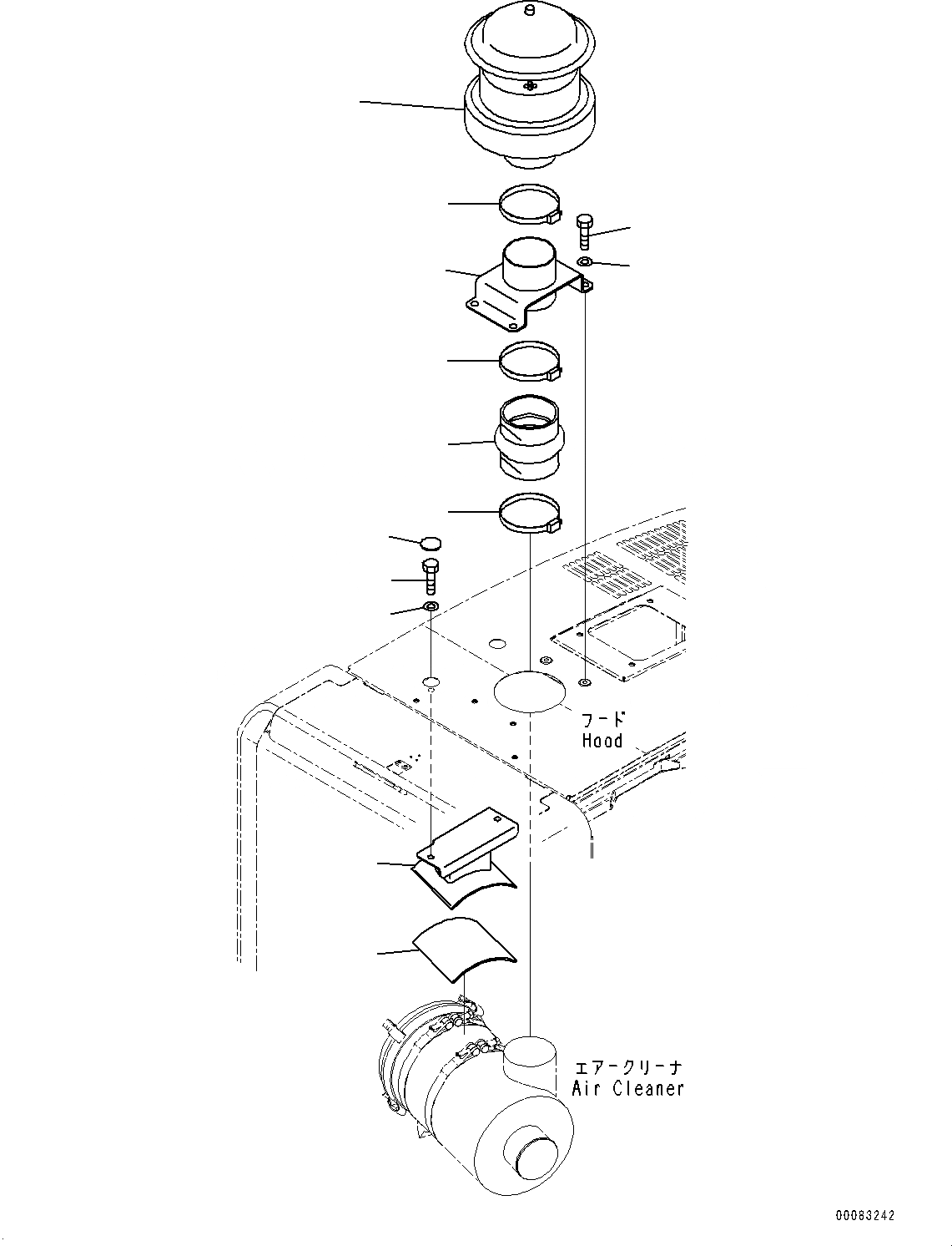
7
8
1
4
3
2
3
5
6
11
10
9
12
FIT
1:1
100%

Артикул

Название

Примечание

Количество

1

419-00-H0770

Pre-cleaner Assembly

SN: 75605-UP

1шт.

2

600-181-0610

Hose

SN: 75605-UP

1шт.

3

07289-00145

Clamp

SN: 75605-UP

2шт.

4

418-54-41340

Bracket

SN: 75605-UP

1шт.

5

01010-81225

Bolt

SN: 75605-UP

4шт.

6

01643-31232

Washer

SN: 75605-UP

4шт.

7

418-54-41290

Bracket

SN: 75605-UP

1шт.

8

418-54-41260

Felt

SN: 75605-UP

1шт.

9

01010-81225

Bolt

SN: 75605-UP

2шт.

10

01643-31232

Washer

SN: 75605-UP

2шт.

11

195-54-42981

Cap

SN: 75605-UP

2шт.

12

07289-00130

Clamp, Hose

SN: 75605-UP

1шт.

Выбрано товаров: 12