Запчасти Komatsu WA250-6 КАБИНА ROPS И ОСНОВН. КОНСТРУКЦИЯ ГРУППА, РЕЗИНОВ. АНТЕННА КРЕПЛЕНИЕ (№7-) КАБИНА ROPS И ОСНОВН. КОНСТРУКЦИЯ ГРУППА, С VOLT POWER ВЫПУСКН.

Схема запчастей Komatsu WA250-6 - КАБИНА ROPS И ОСНОВН. КОНСТРУКЦИЯ ГРУППА, РЕЗИНОВ. АНТЕННА КРЕПЛЕНИЕ (№7-) КАБИНА ROPS И ОСНОВН. КОНСТРУКЦИЯ ГРУППА, С VOLT POWER ВЫПУСКН.
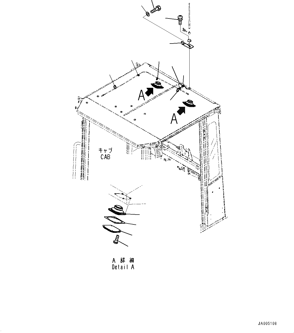
7
7
6
5
4
3
2
1
7
7
11
10
9
8
FIT
1:1
100%

Артикул

Название

Примечание

Количество

1

01023-10414

Screw

SN: 75234-UP

2шт.

2

418-926-4620

Bracket

SN: 75234-UP

1шт.

3

01010-80614

Bolt

SN: 75234-UP

3шт.

4

01643-30623

Washer

SN: 75234-UP

3шт.

5

08037-01008

Grommet

SN: 75234-UP

1шт.

6

418-926-4630

Sheet

SN: 75234-UP

2шт.

7

08034-20519

Band

SN: 75234-UP

4шт.

8

20Y-06-42180

Speaker

SN: 75811-UP

2шт.

8

11Y-979-1950

Speaker

SN: 75234-75810

2шт.

9

418-967-2150

Cover

SN: 75234-UP

2шт.

10

418-967-2230

Plate

SN: 75234-UP

2шт.

11

01220-70420

Screw, Philips Head

SN: 75234-UP

8шт.

Выбрано товаров: 12