Качественные детали и логистика
Оригинальные и аналоговые запчасти с доставкой по России, Казахстану и Беларуси
©2022 PartSell ООО "Система" ИНН 2463123282 ОГРН 1212400004838
Центральный офис: г. Красноярск, Академика Киренского, д.87, пом.4
Телефон: 8 (800) 777-65-74 Email: zakaz@partsell.ru
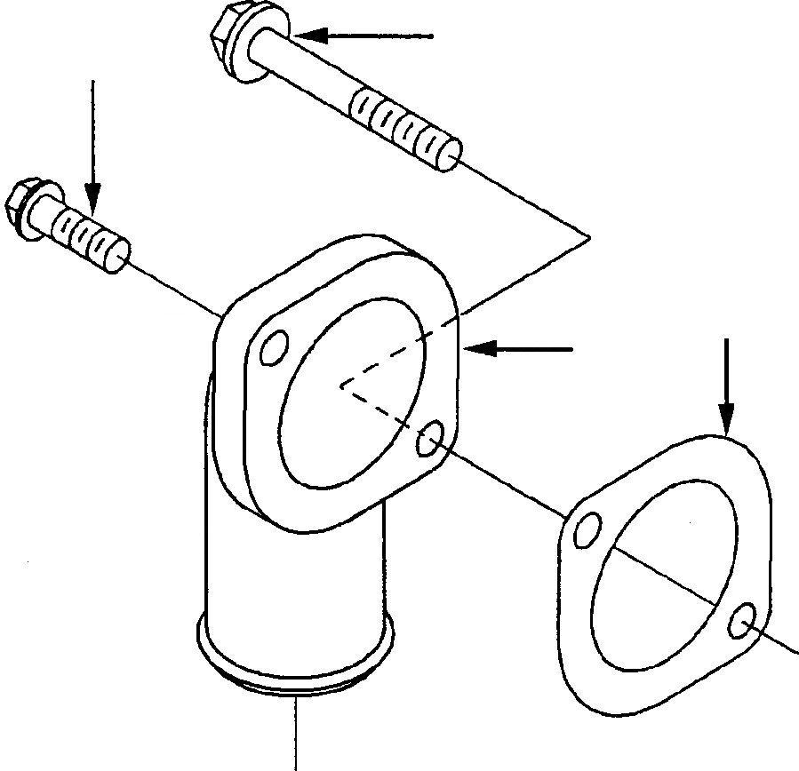
ВОДН. ВЫПУСКН. СОЕДИН-Е
№
Артикул
Название
Примечание
Количество
1
6732-21-5160
BOLT (M8x1.25x25)
1шт.
2
6736-21-3230
BOLT (M8x1.25x60)
3
6735-11-6420
GASKET, CONNECTION
4
6735-11-6430
CONNECTION, WATER OUTLET
Выбрано товаров: 0