Качественные детали и логистика
Оригинальные и аналоговые запчасти с доставкой по России, Казахстану и Беларуси
©2022 PartSell ООО "Система" ИНН 2463123282 ОГРН 1212400004838
Центральный офис: г. Красноярск, Академика Киренского, д.87, пом.4
Телефон: 8 (800) 777-65-74 Email: zakaz@partsell.ru
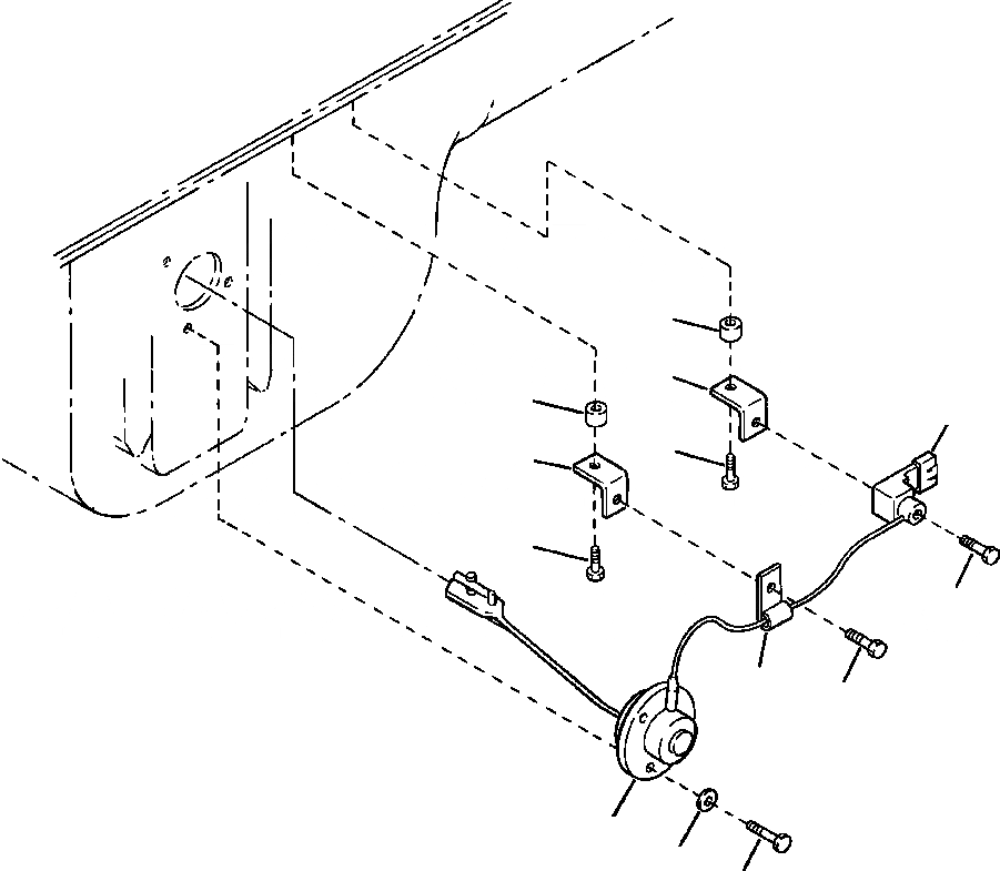
FIG NO. B-A ДАТЧИК УР-НЯ МАСЛА
№
Артикул
Название
Примечание
Количество
1
7861-92-4210
SENSOR
1шт.
2
01641-00608
WASHER
3шт.
3
01010-30612
BOLT
4
08036-10614
CLIP
5
01435-20816
2шт.
6
7821-92-5110
CONNECTOR
7
6167-11-6640
SPACER
8
6144-11-8951
BRACKET
9
01435-20835
Выбрано товаров: 0