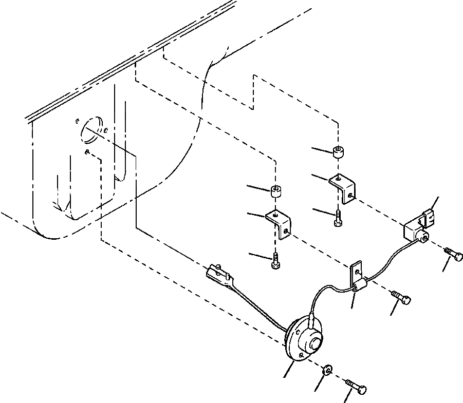
Запчасти Komatsu WA250PT-3MC FIG. B-9A ДАТЧИК УР-НЯ МАСЛА КОМПОНЕНТЫ ДВИГАТЕЛЯ

Схема запчастей Komatsu WA250PT-3MC - FIG. B-9A ДАТЧИК УР-НЯ МАСЛА КОМПОНЕНТЫ ДВИГАТЕЛЯ
7
8
7
6
9
8
9
5
4
5
1
2
3
FIT
1:1
100%

Артикул

Название

Примечание

Количество

1

SENSOR, OIL LEVEL (SEE FIG. A6118-A2A2)

SN: A78001 --UP

1шт.

2

01641-00608

WASHER

SN: A78001 --UP

3шт.

3

01010-60612

BOLT

SN: A78001 --UP

3шт.

4

08036-10614

CLIP

SN: A78001 --UP

1шт.

5

01435-00816

BOLT

SN: A78001 --UP

2шт.

6

08055-00111

CONNECTOR

SN: A78001 --UP

1шт.

7

6167-11-6640

SPACER

SN: A78001 --UP

2шт.

8

6144-11-8951

STAY

SN: A78001 --UP

2шт.

9

01010-80835

BOLT

SN: A78001 --UP

2шт.

Выбрано товаров: 9