Запчасти Komatsu WA250PZ-6 HST МОТОР (7/7) (БЕЗ ORIFICE)(№7-) ОСНОВН. КОМПОНЕНТЫ И РЕМКОМПЛЕКТЫ

Схема запчастей Komatsu WA250PZ-6 - HST МОТОР (7/7) (БЕЗ ORIFICE)(№7-) ОСНОВН. КОМПОНЕНТЫ И РЕМКОМПЛЕКТЫ
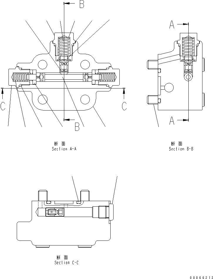
1
2
3
4
5
6
7
8
9
10
11
12
13
14
15
FIT
1:1
100%

Артикул

Название

Примечание

Количество

|$1

418-18-31302

MOTOR

SN: 75001-UP

1шт.

|$$2

THIS ASSEMBLY CONSISTS OF ALL PARTS SHOWN IN FIGS.Y1651-11A0 TO Y1651-17A0.

-1шт.

|$$3

THE UCHIDA YUATSU KIKI PART NUMBER IS THAT UC IS REMOVED FROM KOMATSU PART NUMBER LISTED BELOW.

-1шт.

|$4

UCR902115775

FLASHING VALVE

SN: 75001-UP

1шт.

1

UCR902115699

BODY

SN: 75001-UP

1шт.

2

UC1720001566

SPOOL

SN: 75001-UP

1шт.

3

UC1704302344

PLUNGER

SN: 75001-UP

1шт.

4

UCR902115717

PLUG

SN: 75001-UP

2шт.

5

UCR902115716

PLUG

SN: 75001-UP

1шт.

6

UC1704171122

SPRING SEAT

SN: 75001-UP

2шт.

7

UC1720119218

SPRING

SN: 75001-UP

2шт.

8

UC1704178489

SPRING

SN: 75001-UP

1шт.

9

UC1301581005

BOLT,HEXAGON

SN: 75001-UP

4шт.

10

UC1098308629

O-RING

SN: 75001-UP

1шт.

11

UC1098308601

O-RING

SN: 75001-UP

2шт.

12

UC1300372002

O-RING

SN: 75001-UP

1шт.

13

UC1701530124

WASHER

SN: 75001-UP

1шт.

14

UC1701539305

PLUG

SN: 75001-UP

1шт.

15

UC1701570791

SHIM, 1.0MM

SN: 75001-UP

1шт.

15

UC1701579651

SHIM, 0.3MM

SN: 75001-UP

1шт.

15

UC1701579669

SHIM, 0.5MM

SN: 75001-UP

1шт.

Выбрано товаров: 21