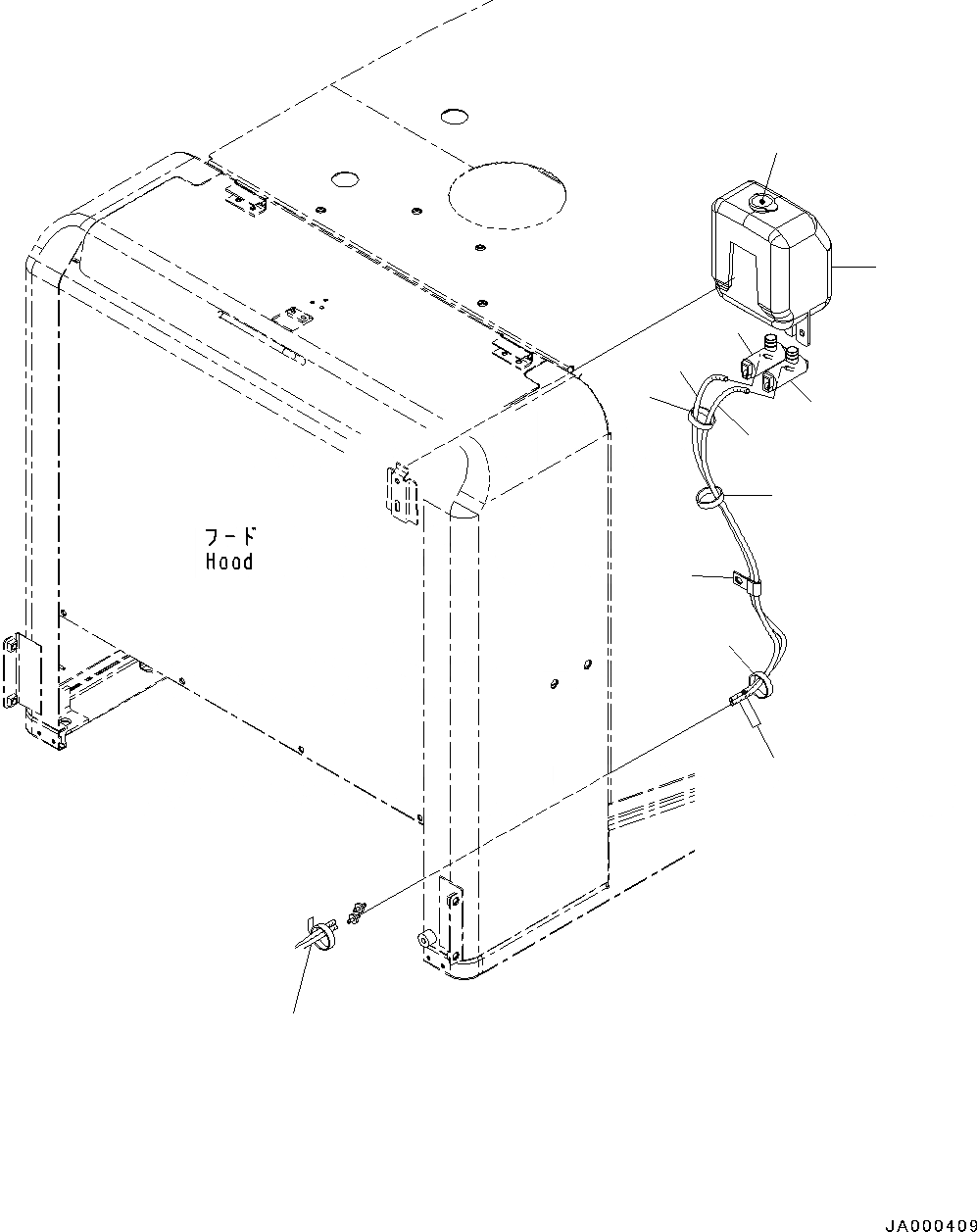
Запчасти Komatsu WA250PZ-6 ОМЫВАТЕЛЬ СТЕКЛА (№77-) ОМЫВАТЕЛЬ СТЕКЛА

Схема запчастей Komatsu WA250PZ-6 - ОМЫВАТЕЛЬ СТЕКЛА (№77-) ОМЫВАТЕЛЬ СТЕКЛА
2
3
1
1
5
5
5
4
4
6
4
7
FIT
1:1
100%

Артикул

Название

Примечание

Количество

|$0

423-947-1101

Tank Assembly

SN: 75750-UP

1шт.

1

423-947-1110

Pump Assembly

SN: 75750-UP

2шт.

2

423-947-1121

Tank

SN: 75750-UP

1шт.

3

423-947-2150

Cap

SN: 75750-UP

1шт.

4

418-07-36130

Hose

SN: 75750-UP

2шт.

5

08034-20519

Band

SN: 75750-UP

3шт.

6

04435-50812

Clip

SN: 75750-UP

1шт.

7

08034-40521

Band

SN: UP

-1шт.

|$8

08034-40521

Band

SN: UP

-1шт.

Выбрано товаров: 9