Запчасти Komatsu WA30-1 OPERATOR КАБИНА (/) ОПЦИОННЫЕ КОМПОНЕНТЫ

Схема запчастей Komatsu WA30-1 - OPERATOR КАБИНА (/) ОПЦИОННЫЕ КОМПОНЕНТЫ
FIT
1:1
100%

Артикул

Название

Примечание

Количество

|1

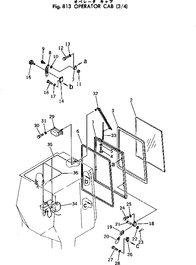
362-911-1000

OPERATOR CAB ASS'Y

SN: 1001-UP

1шт.

|1

362-911-1100

CAB SUB ASS'Y

SN: 1001-UP

1шт.

1

362-911-1630

DOOR

SN: 1001-UP

1шт.

2

362-911-1690

GLASS

SN: 1001-UP

1шт.

3

09410-00425

STRIP,WEATHER

SN: 1001-UP

1шт.

4

01010-51020

BOLT

SN: 1001-UP

6шт.

5

01643-31032

WASHER

SN: 1001-UP

6шт.

6

362-911-2160

SEAL

SN: 1001-UP

1шт.

7

362-911-1890

BRACKET

SN: 1001-UP

2шт.

8

362-911-1810

LEVER

SN: 1001-UP

2шт.

9

362-911-1880

PIN

SN: 1001-UP

2шт.

10

362-911-1940

PLATE

SN: 1001-UP

2шт.

11

01580-00605

NUT

SN: 1001-UP

2шт.

12

01010-50616

BOLT

SN: 1001-UP

4шт.

13

01602-00619

WASHER

SN: 1001-UP

4шт.

14

362-911-1910

BRACKET

SN: 1001-UP

2шт.

15

362-57-11710

BOLT

SN: 1001-UP

2шт.

16

01010-50612

BOLT

SN: 1001-UP

8шт.

17

01602-00619

WASHER

SN: 1001-UP

8шт.

18

362-911-1870

BRACKET

SN: 1001-UP

2шт.

19

362-911-1770

BOSS,L.H.

SN: 1001-UP

1шт.

|19

362-911-1780

BOSS,R.H.

SN: 1001-UP

1шт.

20

09305-01400

KNOB

SN: 1001-UP

2шт.

21

362-911-1950

PIN

SN: 1001-UP

2шт.

22

01641-01016

WASHER

SN: 1001-UP

2шт.

23

04050-03020

PIN

SN: 1001-UP

2шт.

24

01010-50616

BOLT

SN: 1001-UP

4шт.

25

01602-00619

WASHER

SN: 1001-UP

4шт.

26

362-911-1930

PLATE

SN: 1001-UP

1шт.

|26

362-911-1920

PLATE

SN: 1001-UP

1шт.

27

01010-50612

BOLT

SN: 1001-UP

4шт.

28

01602-00619

WASHER

SN: 1001-UP

4шт.

29

08180-01280

WIPER MOTOR ASS'Y

SN: 1001-UP

1шт.

30

01010-50612

BOLT

SN: 1001-UP

6шт.

31

01643-30623

WASHER

SN: 1001-UP

6шт.

32

08184-20450

ARM,WIPER

SN: 1001-UP

1шт.

33

08185-00400

BLADE,WIPER

SN: 1001-UP

1шт.

34

362-911-2210

TANK,WASHER

SN: 1001-UP

1шт.

35

362-911-2240

WIRE ASS'Y

SN: 1001-UP

1шт.

36

362-06-13370

WIRE ASS'Y

SN: 1001-UP

1шт.

Выбрано товаров: 40