Запчасти Komatsu WA30-1 ПРОТИВОВЕС ОПЦИОННЫЕ КОМПОНЕНТЫ

Схема запчастей Komatsu WA30-1 - ПРОТИВОВЕС ОПЦИОННЫЕ КОМПОНЕНТЫ
FIT
1:1
100%

Артикул

Название

Примечание

Количество

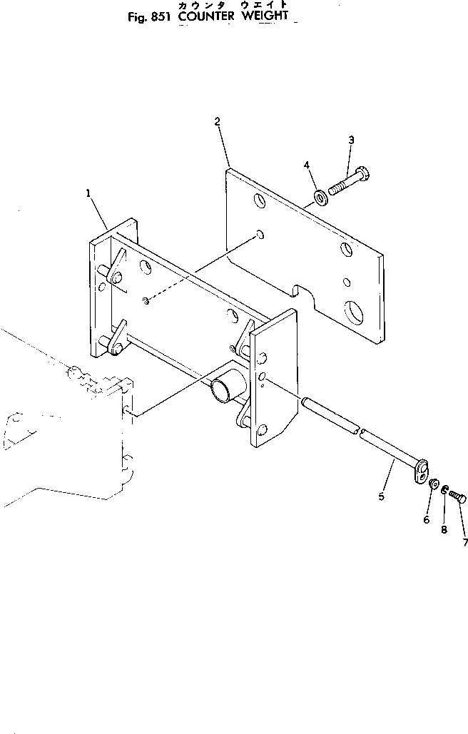
1

362-69-11110

BRACKET

SN: 1001-UP

1шт.

2

362-69-11130

WEIGHT

SN: 1001-UP

1шт.

3

01010-32455

BOLT

SN: 1001-UP

2шт.

4

01643-32460

WASHER

SN: 1001-UP

2шт.

5

362-69-11140

SHAFT

SN: 1001-UP

1шт.

6

362-69-11150

GUIDE

SN: 1001-UP

1шт.

7

01010-31030

BOLT

SN: 1001-UP

1шт.

8

01602-01030

WASHER

SN: 1001-UP

1шт.

Выбрано товаров: 8