Запчасти Komatsu WA30-2 ПАНЕЛЬ ПРИБОРОВ КОМПОНЕНТЫ ДВИГАТЕЛЯ И ЭЛЕКТРИКА

Схема запчастей Komatsu WA30-2 - ПАНЕЛЬ ПРИБОРОВ КОМПОНЕНТЫ ДВИГАТЕЛЯ И ЭЛЕКТРИКА
FIT
1:1
100%

Артикул

Название

Примечание

Количество

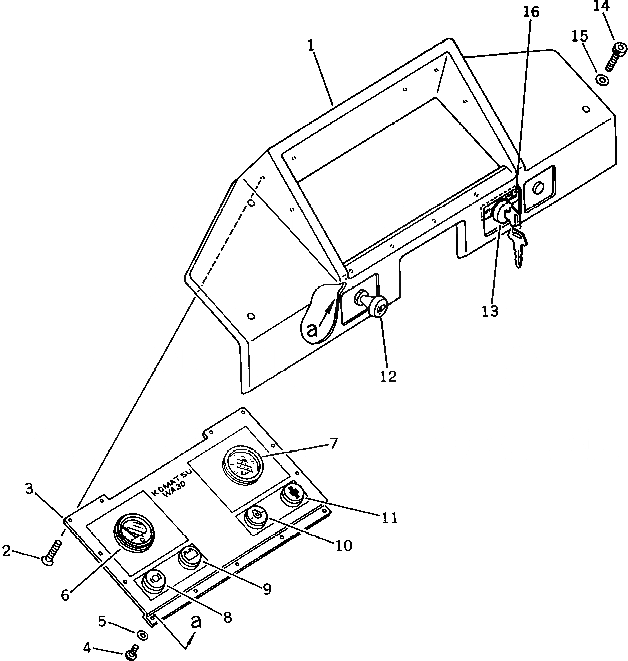
1

362-06-21110

PANEL

SN: 3001-UP

1шт.

2

01224-40410

SCREW

SN: 3001-UP

4шт.

3

362-06-21190

PANEL

SN: 3001-UP

1шт.

4

01220-40410

SCREW

SN: 3001-UP

9шт.

5

01641-20405

WASHER

SN: 3001-UP

9шт.

6

362-06-11140

GAUGE,WATER TEMPERATURE

SN: 3001-UP

1шт.

7

362-06-11130

TACHOMETER

SN: 3001-UP

1шт.

8

362-06-11660

LAMP,PARKING

SN: 3001-UP

1шт.

9

362-06-11650

LAMP,CHARGE

SN: 3001-UP

1шт.

10

10E-06-22140

LAMP,PRESSURE

SN: 3001-UP

1шт.

|10

08111-01230

BULB¤ 4W

SN: 3001-UP

1шт.

11

20S-06-14130

LAMP,HEATER

SN: 3001-UP

1шт.

|11

08111-01230

BULB¤ 4W

SN: 3001-UP

1шт.

12

08061-60010

SWITCH,LAMP

SN: 3001-UP

1шт.

13

08086-10000

SWITCH,STARTING

SN: 3001-UP

1шт.

14

362-06-21130

BOLT

SN: 3001-UP

4шт.

15

362-06-21140

WASHER

SN: 3001-UP

4шт.

16

362-06-21120

PLATE¤ OPERATING

SN: 3001-UP

1шт.

Выбрано товаров: 18