Запчасти Komatsu WA30-2РАМА И ПЕРЕДН. COVER РАБОЧЕЕ ОБОРУДОВАНИЕ

Схема запчастей Komatsu WA30-2 -  РАМА И ПЕРЕДН. COVER РАБОЧЕЕ ОБОРУДОВАНИЕ
FIT
1:1
100%

Артикул

Название

Примечание

Количество

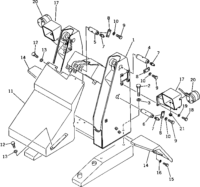
1

362-975-2120

FRAME

SN: 3001-UP

1шт.

2

01011-62430

BOLT

SN: 3001-UP

4шт.

3

01643-32460

WASHER

SN: 3001-UP

4шт.

4

362-70-13210

PIN

SN: 3001-UP

2шт.

5

362-70-13220

PIN

SN: 3001-UP

1шт.

6

362-70-13230

PIN

SN: 3001-UP

2шт.

7

07020-00000

FITTING,GREASE

SN: 3001-UP

5шт.

8

04082-00212

LOCK

SN: 3001-UP

5шт.

9

01010-31225

BOLT

SN: 3001-UP

10шт.

10

01602-01236

WASHER,SPRING

SN: 3001-UP

10шт.

11

362-975-3140

COVER

SN: 3001-UP

1шт.

12

01010-31016

BOLT

SN: 3001-UP

6шт.

13

01643-31032

WASHER

SN: 3001-UP

6шт.

14

362-54-11211

COVER,L.H.

SN: 3001-UP

1шт.

|14

362-54-11221

COVER,R.H.

SN: 3001-UP

1шт.

15

01010-31020

BOLT

SN: 3001-UP

8шт.

16

01643-31032

WASHER

SN: 3001-UP

8шт.

17

362-54-11311

BRACKET,L.H.

SN: 3001-UP

1шт.

|17

362-54-11321

BRACKET,R.H.

SN: 3001-UP

1шт.

18

01010-31020

BOLT

SN: 3001-UP

8шт.

19

01602-01030

WASHER,SPRING

SN: 3001-UP

8шт.

20

08136-01200

LAMP ASS'Y

SN: 3001-UP

2шт.

21

08037-02512

GROMMET

SN: 3001-UP

2шт.

Выбрано товаров: 23