Запчасти Komatsu WA30-2 РАЗГРУЗКАПАЛЕЦG ВИЛЫ РАБОЧЕЕ ОБОРУДОВАНИЕ

Схема запчастей Komatsu WA30-2 - РАЗГРУЗКАПАЛЕЦG ВИЛЫ РАБОЧЕЕ ОБОРУДОВАНИЕ
FIT
1:1
100%

Артикул

Название

Примечание

Количество

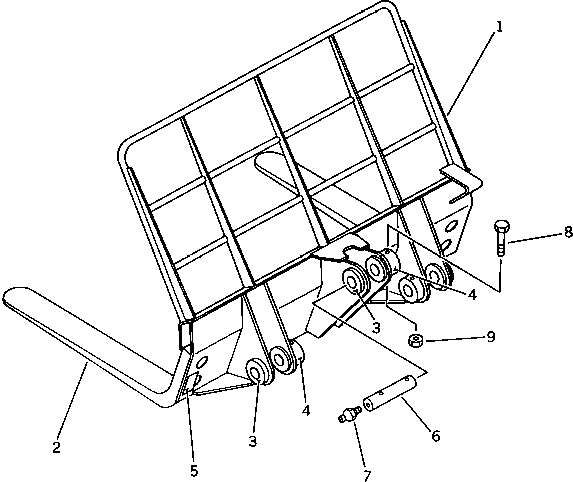
1

362-912-1110

FORK

SN: 3001-UP

1шт.

2

362-912-1120

FORK (WELDED)

SN: 3001-UP

1шт.

3

362-70-11130

BOSS (WELDED)

SN: 3001-UP

3шт.

4

362-70-11140

BOSS (WELDED)

SN: 3001-UP

3шт.

5

362-912-1140

PLATE,ALLOWABLE LOAD TABLE

SN: 3001-UP

1шт.

6

103-70-22170

PIN

SN: 3001-UP

3шт.

7

07020-00000

FITTING,GREASE

SN: 3001-UP

3шт.

8

01010-31090

BOLT

SN: 3001-UP

3шт.

9

01598-01011

NUT

SN: 3001-UP

3шт.

Выбрано товаров: 0