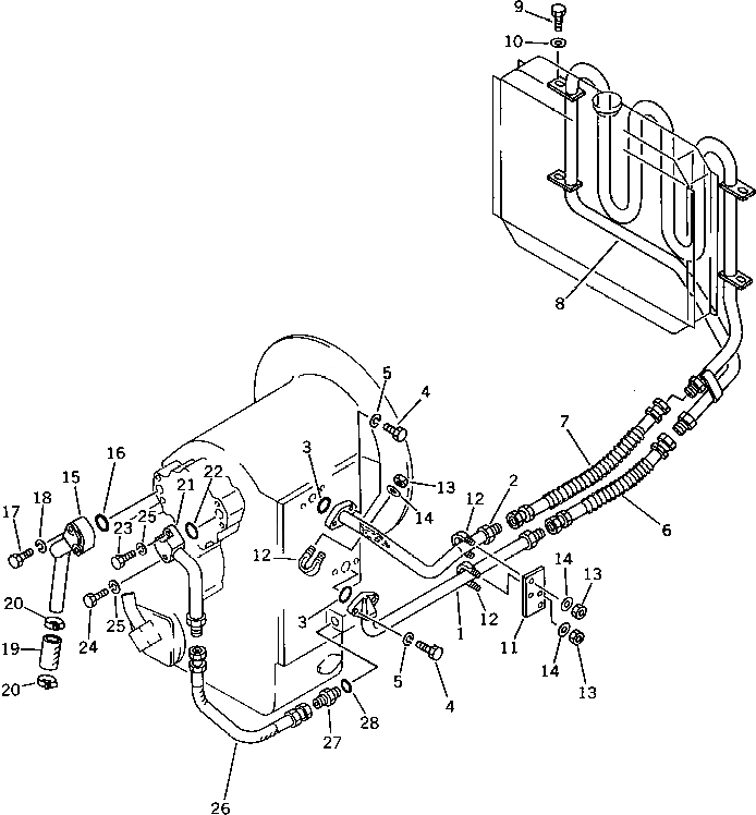
Запчасти Komatsu WA30-2 ТРАНСМИССИЯ МАСЛОПРОВОДЯЩАЯ ЛИНИЯ ТРАНСМИССИЯ

Схема запчастей Komatsu WA30-2 - ТРАНСМИССИЯ МАСЛОПРОВОДЯЩАЯ ЛИНИЯ ТРАНСМИССИЯ
FIT
1:1
100%

Артикул

Название

Примечание

Количество

1

362-49-21110

TUBE

SN: 3001-UP

1шт.

2

362-49-21120

TUBE

SN: 3001-UP

1шт.

3

07000-03025

O-RING

SN: 3001-UP

2шт.

4

01010-31030

BOLT

SN: 3001-UP

4шт.

5

01602-01030

WASHER,SPRING

SN: 3001-UP

4шт.

6

07102-20404

HOSE

SN: 3001-UP

1шт.

7

07102-20404

HOSE

SN: 4102-UP

1шт.

|7

0

HOSE

SN: 3001-4101

1шт.

8

362-49-21130

COOLER ASS'Y

SN: 3001-UP

1шт.

9

01010-31020

BOLT

SN: 3001-UP

4шт.

10

01643-31032

WASHER

SN: 3001-UP

4шт.

11

362-49-11151

PLATE

SN: 3001-UP

1шт.

12

07283-22236

CLIP

SN: 3001-UP

3шт.

13

01599-01011

NUT

SN: 3001-UP

6шт.

14

01643-31032

WASHER

SN: 3001-UP

6шт.

15

362-49-13111

TUBE

SN: 3001-UP

1шт.

16

07000-03028

O-RING

SN: 3001-UP

1шт.

17

01010-31045

BOLT

SN: 3001-UP

2шт.

18

01602-01030

WASHER,SPRING

SN: 3001-UP

2шт.

19

07260-02613

HOSE

SN: 3001-UP

1шт.

20

07281-00489

CLAMP

SN: 3001-UP

2шт.

21

362-49-13230

TUBE

SN: 3001-UP

1шт.

22

07000-03025

O-RING

SN: 3001-UP

1шт.

23

01010-31025

BOLT

SN: 3001-UP

1шт.

24

01010-31055

BOLT

SN: 3001-UP

1шт.

25

01602-01030

WASHER,SPRING

SN: 3001-UP

2шт.

26

07102-20403

HOSE

SN: 4102-UP

1шт.

|26

0

HOSE

SN: 3001-4101

1шт.

27

07230-10422

UNION

SN: 3001-UP

1шт.

28

07002-02034

O-RING

SN: 3001-UP

1шт.

Выбрано товаров: 30