Запчасти Komatsu WA30-2 НАВЕС(№8-) СПЕЦ. APPLICATION ЧАСТИ

Схема запчастей Komatsu WA30-2 - НАВЕС(№8-) СПЕЦ. APPLICATION ЧАСТИ
FIT
1:1
100%

Артикул

Название

Примечание

Количество

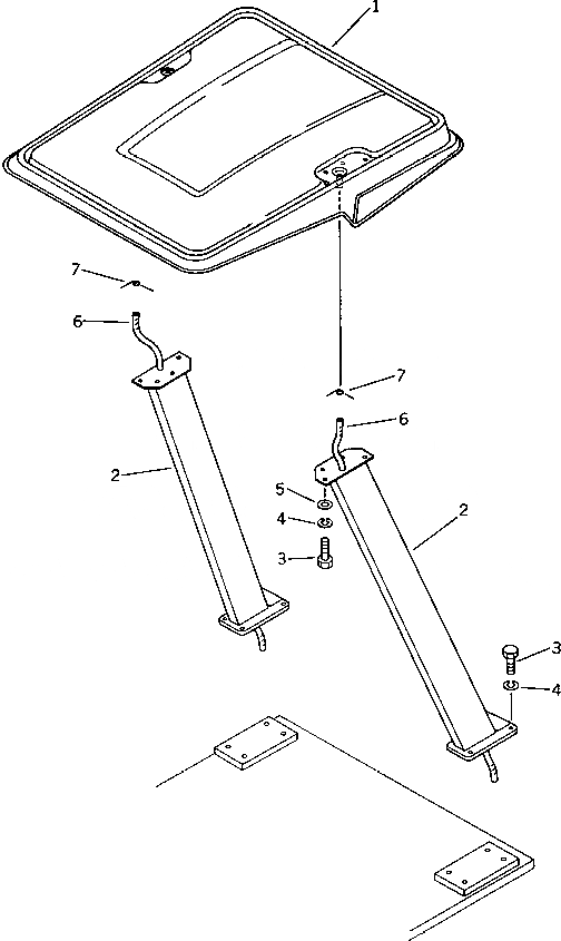
1

20S-54-23110

ROOF

SN: 5802-UP

1шт.

2

362-Z06-1110

POLE,L.H.

SN: 3001-UP

1шт.

2

362-Z06-1120

POLE,R.H.

SN: 3001-UP

1шт.

3

01010-51025

BOLT

SN: 3001-UP

16шт.

4

01602-21030

WASHER,SPRING

SN: 3001-UP

16шт.

5

01643-31032

WASHER

SN: 3001-UP

8шт.

6

07287-01917

HOSE

SN: 5802-UP

2шт.

7

04059-01020

WIRE

SN: 5802-UP

2шт.

Выбрано товаров: 8