Запчасти Komatsu WA30-2 ДВИГАТЕЛЬ И ЧАСТИ КРЕПЛЕНИЯ ТРАНСМИССИИ КОМПОНЕНТЫ ДВИГАТЕЛЯ И ЭЛЕКТРИКА

Схема запчастей Komatsu WA30-2 - ДВИГАТЕЛЬ И ЧАСТИ КРЕПЛЕНИЯ ТРАНСМИССИИ КОМПОНЕНТЫ ДВИГАТЕЛЯ И ЭЛЕКТРИКА
FIT
1:1
100%

Артикул

Название

Примечание

Количество

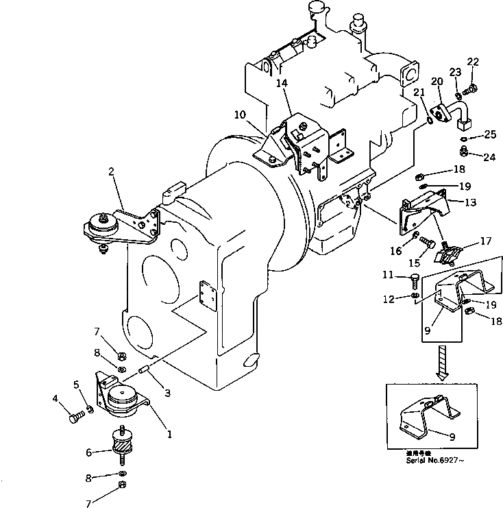
1

362-01-22151

BRACKET,FRONT, L.H.

SN: 3001-UP

1шт.

2

362-01-22161

BRACKET,FRONT, R.H.

SN: 3001-UP

1шт.

3

04020-01024

PIN

SN: 3001-UP

4шт.

4

01010-51025

BOLT

SN: 3001-UP

6шт.

5

01602-21030

WASHER,SPRING

SN: 3001-UP

6шт.

6

362-01-22212

CUSHION

SN: 4102-UP

2шт.

6

362-01-22211

CUSHION

SN: 3001-4101

2шт.

7

01580-11613

NUT

SN: 3001-UP

4шт.

8

01643-31645

WASHER

SN: 3001-UP

4шт.

9

362-01-22141

BRACKET,REAR, L.H.

SN: 6927-UP

1шт.

9

0

BRACKET,REAR, L.H.

SN: 3001-6926

1шт.

10

362-01-22131

BRACKET,REAR, R.H.

SN: 6927-UP

1шт.

10

0

BRACKET,REAR, R.H.

SN: 3001-6926

1шт.

11

01010-51235

BOLT

SN: 3001-UP

4шт.

12

01602-21236

WASHER,SPRING

SN: 3001-UP

4шт.

13

362-01-22121

BRACKET,L.H.

SN: 6927-UP

1шт.

13

0

BRACKET,L.H.

SN: 3001-6926

1шт.

14

362-01-22111

BRACKET,R.H.

SN: 6927-UP

1шт.

14

0

BRACKET,R.H.

SN: 3001-6926

1шт.

15

01010-51225

BOLT

SN: 3001-UP

8шт.

16

01602-21236

WASHER

SN: 3001-UP

8шт.

17

362-01-22221

CUSHION

SN: 3001-UP

2шт.

18

01580-11613

NUT

SN: 3001-UP

4шт.

19

01643-21645

WASHER

SN: 3001-UP

4шт.

20

362-01-25120

TUBE

SN: 3001-UP

1шт.

21

07000-02018

O-RING

SN: 3001-UP

1шт.

22

01010-50835

BOLT

SN: 3001-UP

3шт.

23

01602-20825

WASHER

SN: 3001-UP

3шт.

24

07040-11409

PLUG

SN: 3001-UP

1шт.

25

07002-01423

O-RING

SN: 3001-UP

1шт.

Выбрано товаров: 0