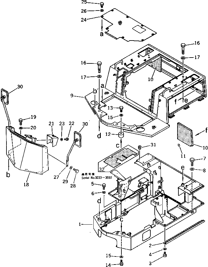
Запчасти Komatsu WA30-2 ОСНОВН. КОНСТРУКЦИЯ И ПРИБОРНАЯ ПАНЕЛЬ РАМА И ЧАСТИ КОРПУСА

Схема запчастей Komatsu WA30-2 - ОСНОВН. КОНСТРУКЦИЯ И ПРИБОРНАЯ ПАНЕЛЬ РАМА И ЧАСТИ КОРПУСА
FIT
1:1
100%

Артикул

Название

Примечание

Количество

1

362-54-24110

FRAME

SN: 3001-UP

1шт.

2

362-54-24350

PLATE,L.H.

SN: 3001-UP

1шт.

2

362-54-24360

PLATE,R.H.

SN: 3001-UP

1шт.

3

01010-50816

BOLT

SN: 3001-UP

6шт.

4

01602-20825

WASHER,SPRING

SN: 3001-UP

6шт.

5

01010-51225

BOLT

SN: 3001-UP

7шт.

6

01643-31232

WASHER

SN: 3001-UP

7шт.

7

01010-51635

BOLT

SN: 3001-UP

2шт.

8

01643-31645

WASHER

SN: 3001-UP

2шт.

9

362-54-24170

COVER

SN: 3001-UP

1шт.

10

362-54-24310

SEAT

SN: 3001-UP

2шт.

11

04431-30000

PLATE

SN: 3001-UP

6шт.

12

362-54-23140

SPACER

SN: 3001-UP

6шт.

13

01010-51220

BOLT

SN: 3001-UP

10шт.

14

01010-51230

BOLT

SN: 3001-UP

2шт.

15

01643-31232

WASHER

SN: 3001-UP

12шт.

16

01010-51670

BOLT

SN: 3001-UP

4шт.

17

01643-31645

WASHER

SN: 3001-UP

4шт.

18

362-54-22110

DASHBOARD

SN: 3001-UP

1шт.

19

01010-51250

BOLT

SN: 3001-UP

4шт.

20

01643-31232

WASHER

SN: 3001-UP

4шт.

21

362-54-13120

COVER

SN: 3001-UP

1шт.

22

01238-40612

SCREW

SN: 3001-UP

2шт.

23

01643-30623

WASHER

SN: 3001-UP

2шт.

24

362-54-23110

PLATE,FLOOR

SN: 3001-UP

1шт.

25

01010-51016

BOLT

SN: 3001-UP

8шт.

26

01643-31032

WASHER

SN: 3001-UP

8шт.

27

362-54-26120

BRACKET

SN: 3001-UP

2шт.

28

01010-51020

BOLT

SN: 3001-UP

6шт.

29

01602-21030

WASHER,SPRING

SN: 3001-UP

6шт.

30

362-54-16110

MIRROR

SN: 3001-UP

2шт.

31

07049-01012

PLUG

SN: 3001-UP

8шт.

32

362-54-24380

SEAT

SN: 3223-3552

1шт.

Выбрано товаров: 33