Запчасти Komatsu WA30-3 GAUGE CLUSTER КОМПОНЕНТЫ ДВИГАТЕЛЯ И ЭЛЕКТРИКА

Схема запчастей Komatsu WA30-3 - GAUGE CLUSTER КОМПОНЕНТЫ ДВИГАТЕЛЯ И ЭЛЕКТРИКА
FIT
1:1
100%

Артикул

Название

Примечание

Количество

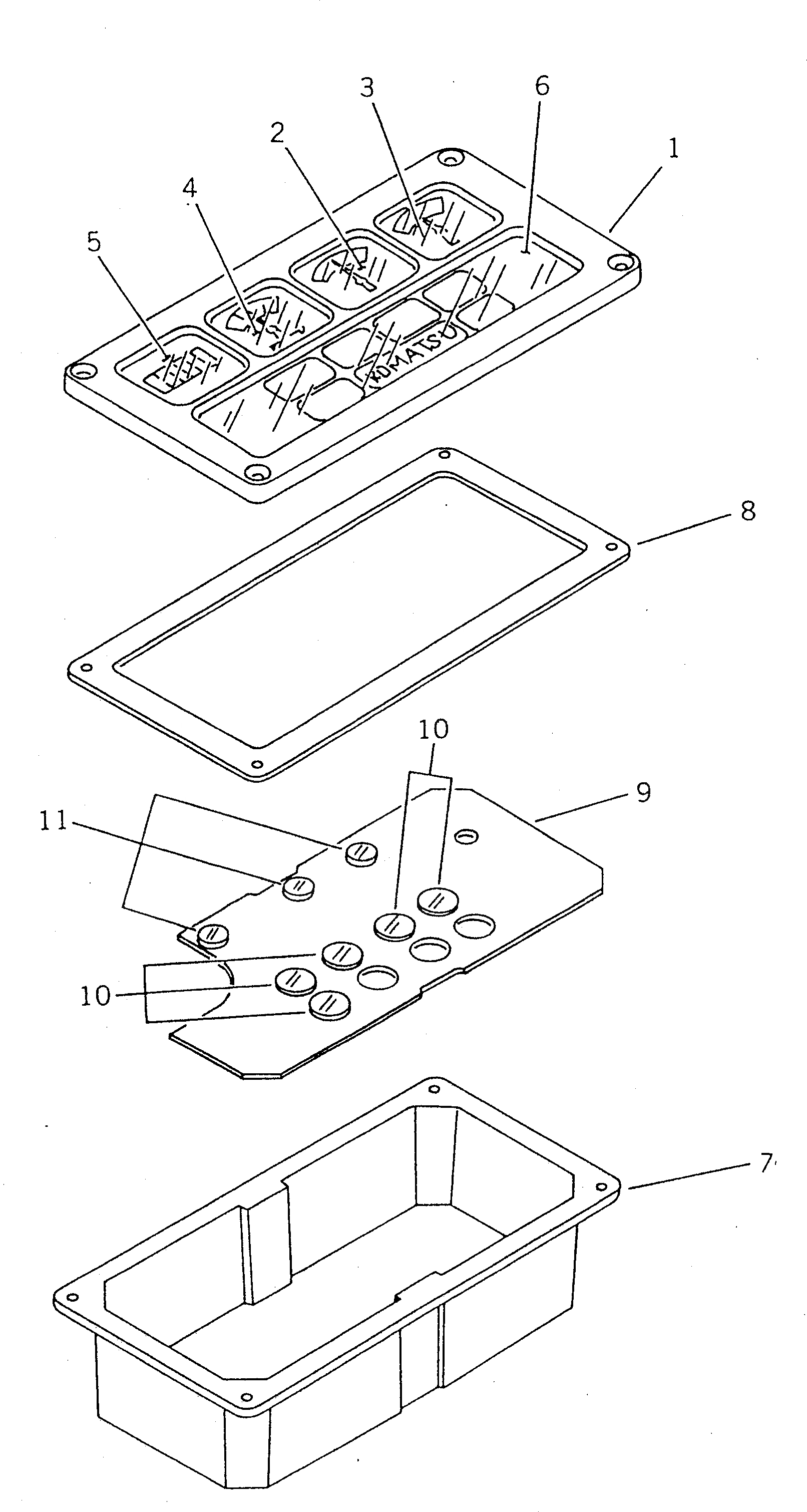
|1

363-06-22122

GAUGE CLUSTER

SN: 9001-UP

1шт.

1

KA11245-KA1100

BEZEL

SN: 9001-UP

1шт.

2

KA90413-KA2030

GAUGE,FUEL LEVEL

SN: 9001-UP

1шт.

3

KA90403-KA2020

GAUGE,TORQUE CONVERTER OIL TEMP.

SN: 9001-UP

1шт.

4

KA90403-KA2430

GAUGE,WATER TEMPERATURE

SN: 9001-UP

1шт.

5

KA90283-KA2400

METER,SERVICE

SN: 9001-UP

1шт.

6

KA11113-KA2030

LENS,WARNING

SN: 9001-UP

1шт.

7

KA11371-KA2001

HOUSING

SN: 9001-UP

1шт.

8

KA11241-KA1100

GASKET

SN: 9001-UP

1шт.

9

KA11630-KA2030

CIRCUIT ASS'Y

SN: 9001-UP

1шт.

10

KA11700-EK0100

BULB ASS'Y

SN: 9001-UP

5шт.

|10

KA099-11434

BULB¤ 4W

SN: 9001-UP

1шт.

11

KA11650-KA2400

BULB ASS'Y

SN: 9001-UP

3шт.

|11

KA79161-AK3800

BULB¤ 2W

SN: 9001-UP

1шт.

Выбрано товаров: 0