Запчасти Komatsu WA30-3 ЭЛЕКТРИКА (ПЕРЕДН.) (ДЛЯ STOCK BREEDING) КОМПОНЕНТЫ ДВИГАТЕЛЯ И ЭЛЕКТРИКА

Схема запчастей Komatsu WA30-3 - ЭЛЕКТРИКА (ПЕРЕДН.) (ДЛЯ STOCK BREEDING) КОМПОНЕНТЫ ДВИГАТЕЛЯ И ЭЛЕКТРИКА
FIT
1:1
100%

Артикул

Название

Примечание

Количество

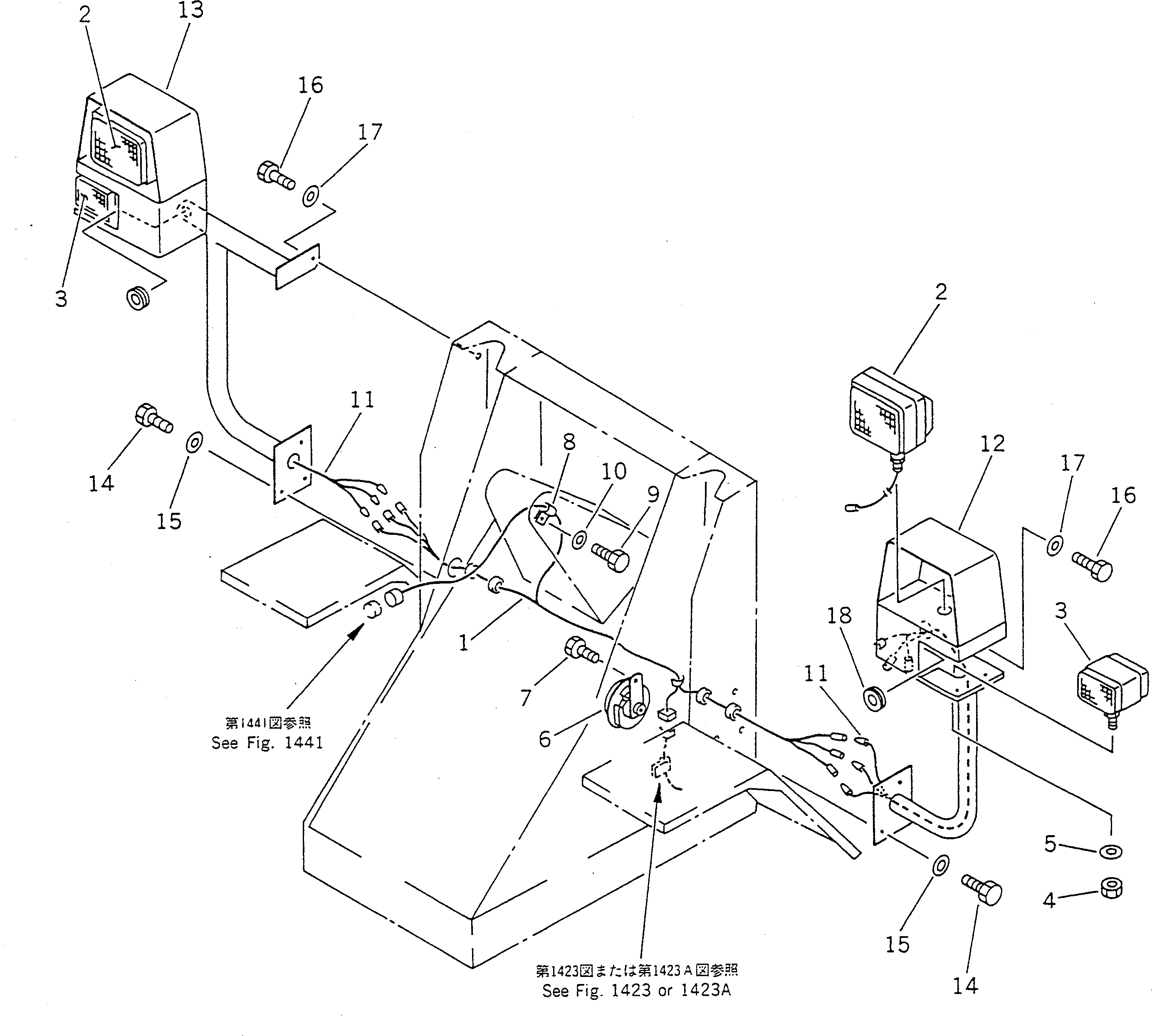
1

363-06-23223

WIRE ASS'Y

SN: 10599-UP

1шт.

|1

0

WIRE ASS'Y

SN: 9001-10598

1шт.

2

363-06-23410

LAMP ASS'Y,HEAD

SN: 9001-UP

2шт.

|2

EDBY20756102

LENS

SN: 9001-UP

1шт.

|2

08119-01260

BULB¤ 60W

SN: 9001-UP

1шт.

3

363-06-23420

LAMP ASS'Y

SN: 9001-UP

2шт.

|3

ED11-3291310-2

LENS

SN: 9001-UP

2шт.

|3

ED11-0110661-2

BULB¤ 20W

SN: 9001-UP

1шт.

4

01580-11008

NUT

SN: 9001-UP

4шт.

5

01643-31032

WASHER

SN: 9001-UP

4шт.

6

362-06-33210

HORN

SN: 9001-UP

1шт.

7

01010-50812

BOLT

SN: 9001-UP

1шт.

8

08036-01014

CLIP

SN: 9001-UP

1шт.

9

01010-51016

BOLT

SN: 9001-UP

1шт.

10

01643-31032

WASHER

SN: 9001-UP

1шт.

G-1

0

BRACKET GROUP

SN: 9001-UP

1шт.

|$$17

====================

-1шт.

11

362-Y02-2150

WIRE ASS'Y

SN: 9001-UP

2шт.

12

362-Y02-2110

BRACKET,L.H.

SN: 9001-UP

1шт.

13

362-Y02-2120

BRACKET,R.H.

SN: 9001-UP

1шт.

14

01010-51030

BOLT

SN: 9001-UP

6шт.

15

01643-31032

WASHER

SN: 9001-UP

6шт.

16

01010-51025

BOLT

SN: 9001-UP

2шт.

17

01643-31032

WASHER

SN: 9001-UP

2шт.

18

08037-01610

GROMMET

SN: 9001-UP

2шт.

|$$26

====================

-1шт.

Выбрано товаров: 26