Запчасти Komatsu WA30-3 ДВИГАТЕЛЬ И ЧАСТИ КРЕПЛЕНИЯ ТРАНСМИССИИ КОМПОНЕНТЫ ДВИГАТЕЛЯ И ЭЛЕКТРИКА

Схема запчастей Komatsu WA30-3 - ДВИГАТЕЛЬ И ЧАСТИ КРЕПЛЕНИЯ ТРАНСМИССИИ КОМПОНЕНТЫ ДВИГАТЕЛЯ И ЭЛЕКТРИКА
FIT
1:1
100%

Артикул

Название

Примечание

Количество

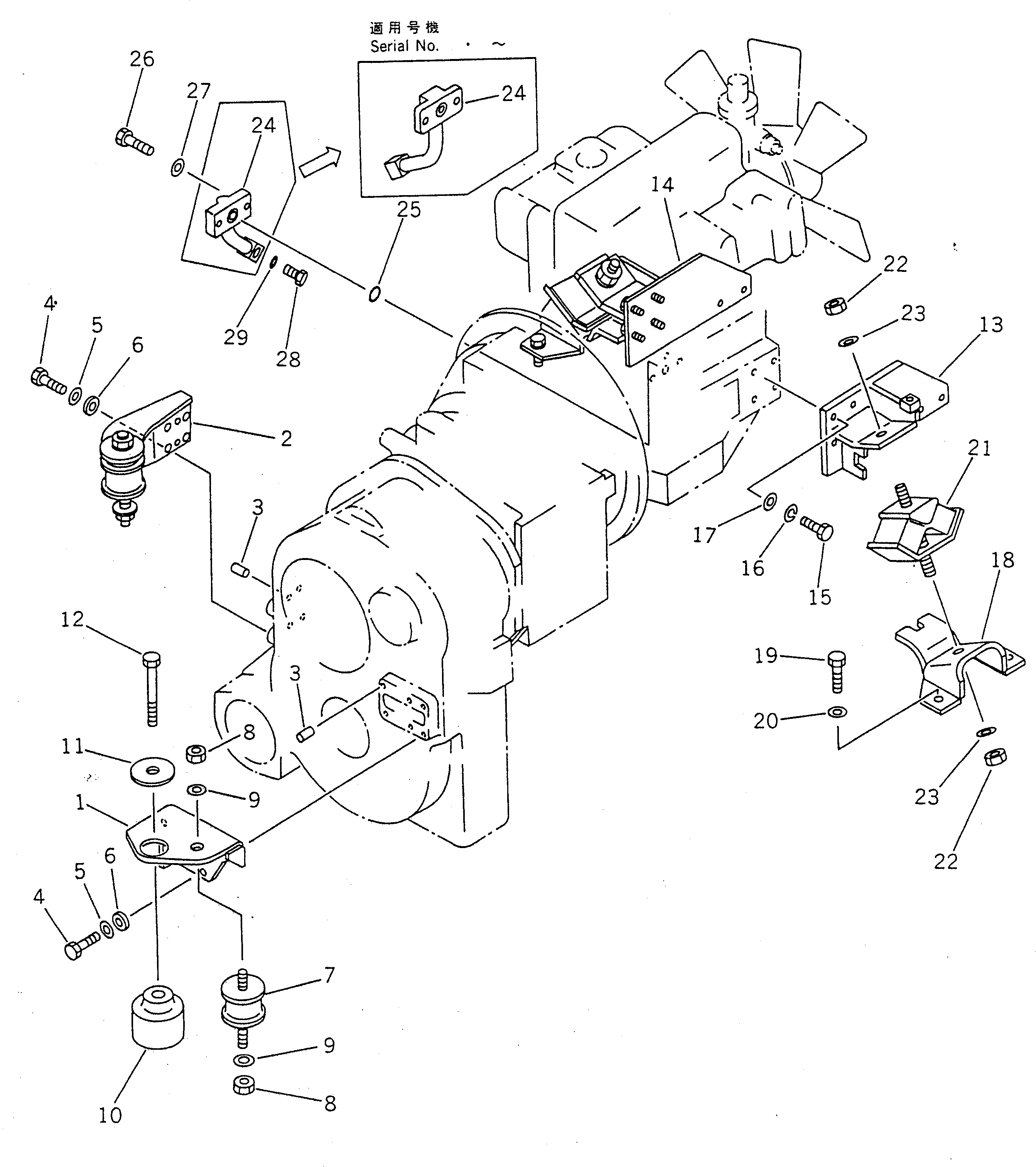
1

363-01-22111

BRACKET,FRONT¤ L.H.

SN: 9001-UP

1шт.

2

363-01-22121

BRACKET,FRONT¤ R.H.

SN: 9001-UP

1шт.

3

04020-01024

PIN,DOWEL

SN: 9001-UP

3шт.

4

01010-51245

BOLT

SN: 9001-UP

8шт.

5

01643-31232

WASHER

SN: 9001-UP

8шт.

6

363-01-22170

SPACER

SN: 9001-UP

8шт.

7

362-01-32160

CUSHION

SN: 9001-UP

2шт.

8

01580-11613

NUT

SN: 9001-UP

4шт.

9

01643-31645

WASHER

SN: 9001-UP

4шт.

10

363-01-22160

STOPPER

SN: 9001-UP

1шт.

11

566-14-41170

WASHER

SN: 9001-UP

1шт.

12

01011-51610

BOLT

SN: 9001-UP

1шт.

13

362-01-32142

BRACKET,REAR¤ L.H.

SN: 9001-UP

1шт.

14

363-01-22131

BRACKET,REAR¤ R.H.

SN: 9001-UP

1шт.

15

01010-51030

BOLT

SN: 9001-UP

8шт.

16

01602-21030

WASHER,SPRING

SN: 9001-UP

8шт.

17

01643-31032

WASHER

SN: 9001-UP

8шт.

18

363-01-22151

BRACKET,REAR

SN: 9001-UP

2шт.

19

01010-51230

BOLT

SN: 9001-UP

4шт.

20

01643-31232

WASHER

SN: 9001-UP

4шт.

21

362-01-32150

CUSHION

SN: 9001-UP

2шт.

22

01580-11613

NUT

SN: 9001-UP

4шт.

23

01643-31645

WASHER

SN: 9001-UP

4шт.

24

363-01-24112

TUBE,OIL DRAIN

SN: .-UP

1шт.

|24

0

TUBE,OIL DRAIN

SN: 9001-.

1шт.

25

07000-02018

O-RING

SN: 9001-UP

1шт.

26

01010-50835

BOLT

SN: 9001-UP

2шт.

27

01643-30823

WASHER

SN: 9001-UP

2шт.

28

07040-11209

PLUG,DRAIN

SN: 9001-UP

1шт.

29

07002-01223

O-RING

SN: 9001-UP

1шт.

Выбрано товаров: 30