Запчасти Komatsu WA30-3 РУЛЕВОЕ КОЛЕСО РУЛЕВ. УПРАВЛЕНИЕ И СИСТЕМА УПРАВЛЕНИЯ

Схема запчастей Komatsu WA30-3 - РУЛЕВОЕ КОЛЕСО РУЛЕВ. УПРАВЛЕНИЕ И СИСТЕМА УПРАВЛЕНИЯ
FIT
1:1
100%

Артикул

Название

Примечание

Количество

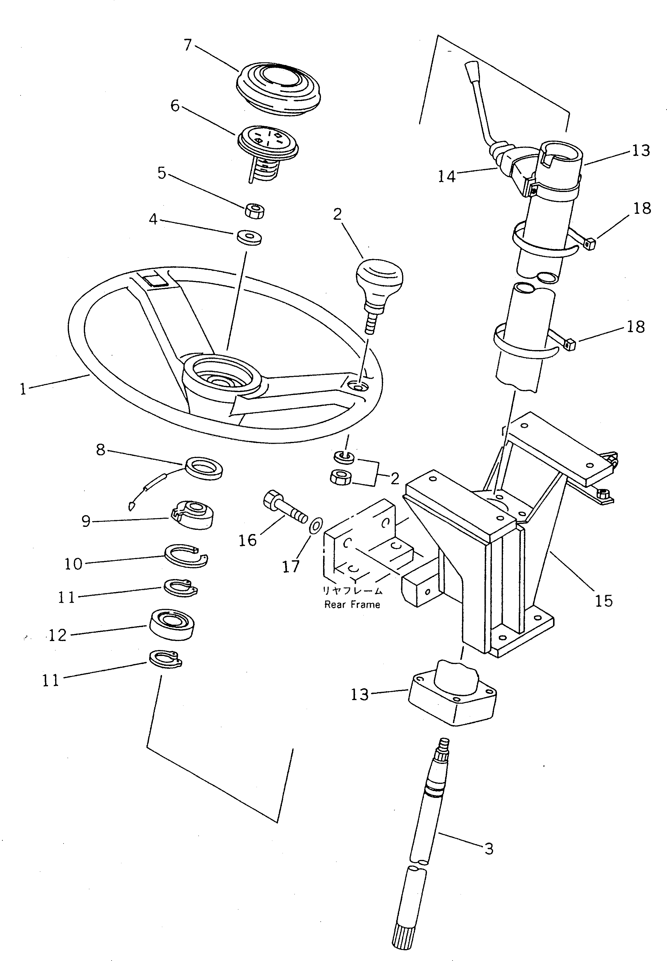
1

42A-40-12210

WHEEL

SN: 9601-UP

1шт.

|1

0

WHEEL

SN: 9001-9600

1шт.

2

363-43-25140

GRIP ASS'Y

SN: 9001-UP

1шт.

3

363-43-25151

SHAFT

SN: 9001-UP

1шт.

4

01643-31232

WASHER

SN: 9001-UP

1шт.

5

01582-11210

NUT

SN: 9001-UP

1шт.

6

363-43-25130

CAP,CONTACT

SN: 9001-UP

1шт.

7

363-43-25120

BUTTON,HORN

SN: 9001-UP

1шт.

8

363-43-25180

RING

SN: 9001-UP

1шт.

9

363-43-25170

SEAT

SN: 9001-UP

1шт.

10

04065-04218

RING,SNAP

SN: 9001-UP

1шт.

11

04064-02012

RING,SNAP

SN: 9001-UP

2шт.

12

06002-06004

BEARING,BALL

SN: 9001-UP

1шт.

13

363-43-25163

COLUMN

SN: 9001-UP

1шт.

14

362-06-33230

SWITCH

SN: 9001-UP

1шт.

15

363-54-22152

BRACKET

SN: 9001-UP

1шт.

16

01010-51030

BOLT

SN: 9001-UP

4шт.

17

01643-31032

WASHER

SN: 9001-UP

4шт.

18

362-43-15360

BAND

SN: 9001-UP

3шт.

Выбрано товаров: 19