Запчасти Komatsu WA30-3 ТРАНСМИССИЯ МАСЛОПРОВОДЯЩАЯ ЛИНИЯ РУЛЕВ. УПРАВЛЕНИЕ И СИСТЕМА УПРАВЛЕНИЯ

Схема запчастей Komatsu WA30-3 - ТРАНСМИССИЯ МАСЛОПРОВОДЯЩАЯ ЛИНИЯ РУЛЕВ. УПРАВЛЕНИЕ И СИСТЕМА УПРАВЛЕНИЯ
FIT
1:1
100%

Артикул

Название

Примечание

Количество

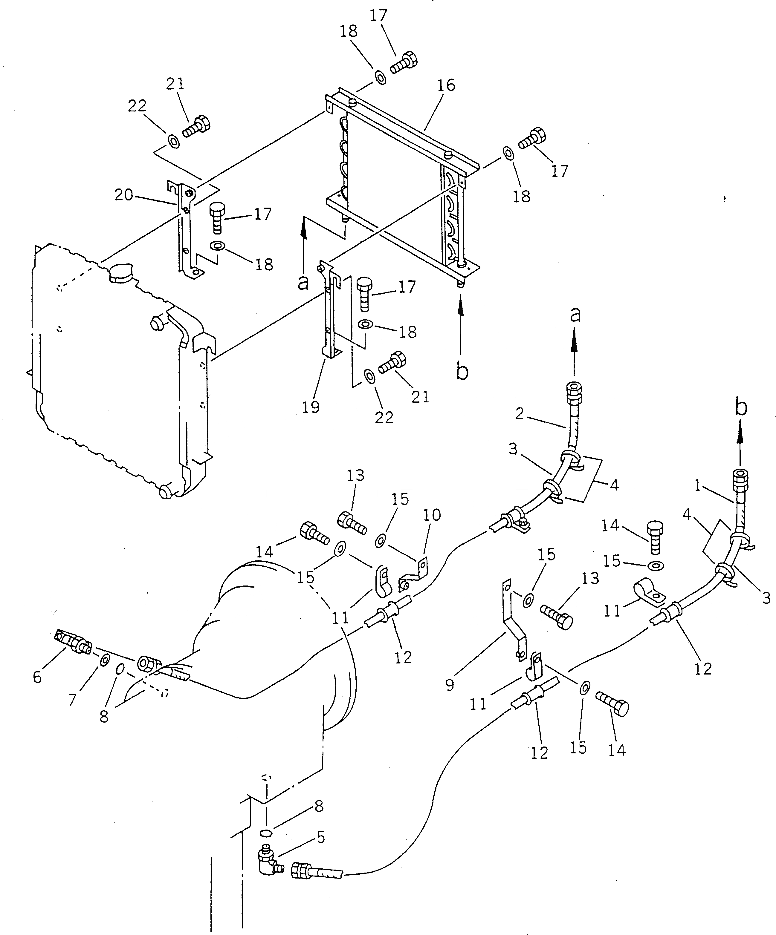
1

07102-20510

HOSE

SN: 9001-UP

1шт.

2

07102-20511

HOSE

SN: 9001-UP

1шт.

3

363-49-21210

COVER

SN: 9001-UP

2шт.

4

08034-10520

BAND

SN: 9001-UP

4шт.

5

113-63-22390

ELBOW

SN: 9001-UP

1шт.

6

362-49-31111

ELBOW

SN: 9001-UP

1шт.

7

362-49-31170

SEAT

SN: 9001-9600

1шт.

8

07002-02034

O-RING

SN: 9001-UP

2шт.

9

362-49-31130

BRACKET,L.H.

SN: 9001-UP

1шт.

10

362-49-31120

BRACKET,R.H.

SN: 9001-UP

1шт.

11

281-01-13180

CLIP

SN: 9001-UP

4шт.

12

198-61-44120

CUSHION

SN: 9001-UP

4шт.

13

01010-51020

BOLT

SN: 9001-UP

2шт.

14

01010-51025

BOLT

SN: 9001-UP

4шт.

15

01643-31032

WASHER

SN: 9001-UP

6шт.

16

363-49-21140

OIL COOLER ASS'Y

SN: 9001-UP

1шт.

17

01010-51020

BOLT

SN: 9001-UP

4шт.

18

01643-31032

WASHER

SN: 9001-UP

4шт.

19

363-49-21150

PLATE,L.H.

SN: 9001-UP

1шт.

20

363-49-21160

PLATE,R.H.

SN: 9001-UP

1шт.

21

01010-50820

BOLT

SN: 9001-UP

4шт.

22

01643-30823

WASHER

SN: 9001-UP

4шт.

Выбрано товаров: 22