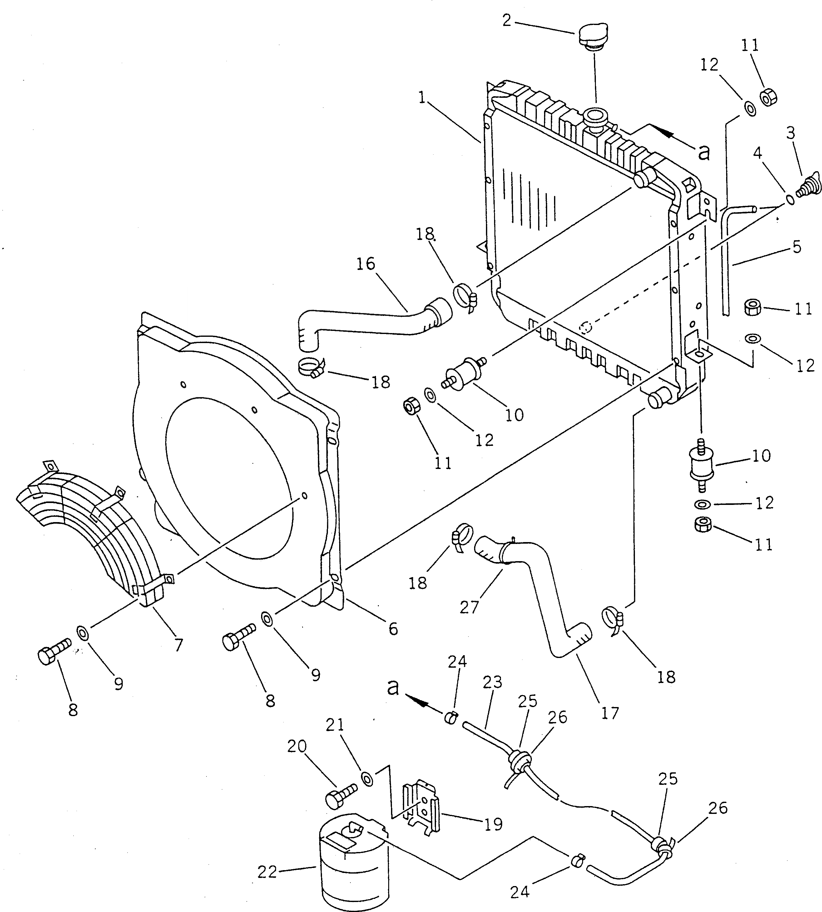
Запчасти Komatsu WA30-3 РАДИАТОР КОМПОНЕНТЫ ДВИГАТЕЛЯ И ЭЛЕКТРИКА

Схема запчастей Komatsu WA30-3 - РАДИАТОР КОМПОНЕНТЫ ДВИГАТЕЛЯ И ЭЛЕКТРИКА
FIT
1:1
100%

Артикул

Название

Примечание

Количество

|1

362-03-31102

RADIATOR ASS'Y

SN: 9001-UP

1шт.

1

362-03-31112

RADIATOR

SN: 9001-UP

1шт.

2

362-03-11370

CAP

SN: 9001-UP

1шт.

3

20R-03-11230

VALVE

SN: 9001-UP

1шт.

4

07000-01007

O-RING

SN: 9001-UP

1шт.

5

362-03-31150

TUBE

SN: 9001-UP

1шт.

6

363-03-21120

SHROUD

SN: 9001-UP

1шт.

7

362-03-21220

NET,WIRE

SN: 9001-UP

1шт.

8

01010-50816

BOLT

SN: 9001-UP

7шт.

9

01643-30823

WASHER

SN: 9001-UP

7шт.

10

20R-03-11190

CUSHION

SN: 9001-UP

4шт.

11

01580-10806

NUT

SN: 9001-UP

8шт.

12

01643-30823

WASHER

SN: 9001-UP

8шт.

16

363-03-21130

HOSE

SN: 9001-UP

1шт.

17

363-03-21140

HOSE

SN: 9001-UP

1шт.

18

207-09-11110

CLAMP

SN: 9001-UP

4шт.

19

362-03-14120

BRACKET

SN: 9001-UP

1шт.

20

01010-50616

BOLT

SN: 9001-UP

2шт.

21

01643-30623

WASHER

SN: 9001-UP

2шт.

22

362-03-14110

TANK,RESERVE

SN: 9001-UP

1шт.

|22

362-03-31160

CAP

SN: 9001-UP

1шт.

23

415-03-11311

HOSE

SN: 9001-UP

1шт.

|23

0

TUBE

SN: (9001-9996)

1шт.

24

07281-00137

CLAMP

SN: 9001-UP

2шт.

|24

0

CLIP

SN: (9001-9996)

2шт.

25

201-43-22190

BUSHING

SN: 9001-UP

2шт.

26

08034-00519

BAND

SN: 9001-UP

2шт.

27

08034-00823

BAND

SN: 9001-UP

1шт.

Выбрано товаров: 28