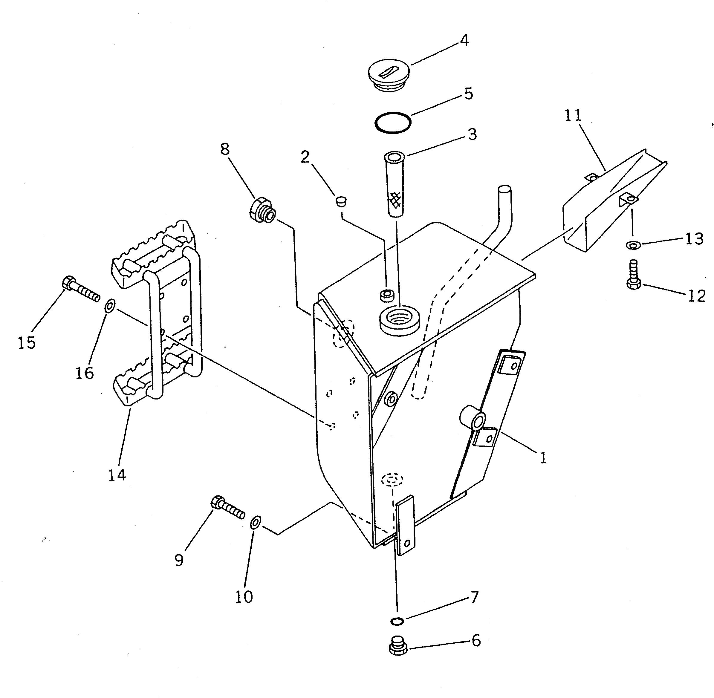
Запчасти Komatsu WA30-3 ГИДР. БАК. AND СТУПЕНИ УПРАВЛ-Е РАБОЧИМ ОБОРУДОВАНИЕМ

Схема запчастей Komatsu WA30-3 - ГИДР. БАК. AND СТУПЕНИ УПРАВЛ-Е РАБОЧИМ ОБОРУДОВАНИЕМ
FIT
1:1
100%

Артикул

Название

Примечание

Количество

1

363-60-21110

TANK,HYDRAULIC

SN: 9001-UP

1шт.

2

363-04-21210

CAP

SN: 9001-9600

1шт.

3

07056-10045

STRAINER

SN: 9001-UP

1шт.

4

363-60-21310

PLUG

SN: 9001-UP

1шт.

5

07002-05234

O-RING

SN: 9001-UP

1шт.

6

07044-12412

PLUG

SN: 9001-UP

1шт.

7

07002-02434

O-RING

SN: 9001-UP

1шт.

8

20N-60-11141

GAUGE,OIL

SN: 9001-UP

1шт.

9

01010-51235

BOLT

SN: 9001-UP

4шт.

10

01643-31232

WASHER

SN: 9001-UP

4шт.

11

363-60-21320

COVER

SN: 9001-UP

1шт.

12

01010-51020

BOLT

SN: 9001-UP

2шт.

13

01643-31032

WASHER

SN: 9001-UP

2шт.

14

362-46-31520

STEP

SN: 9001-UP

1шт.

15

01010-51020

BOLT

SN: 9001-UP

4шт.

16

01643-31032

WASHER

SN: 9001-UP

4шт.

Выбрано товаров: 16