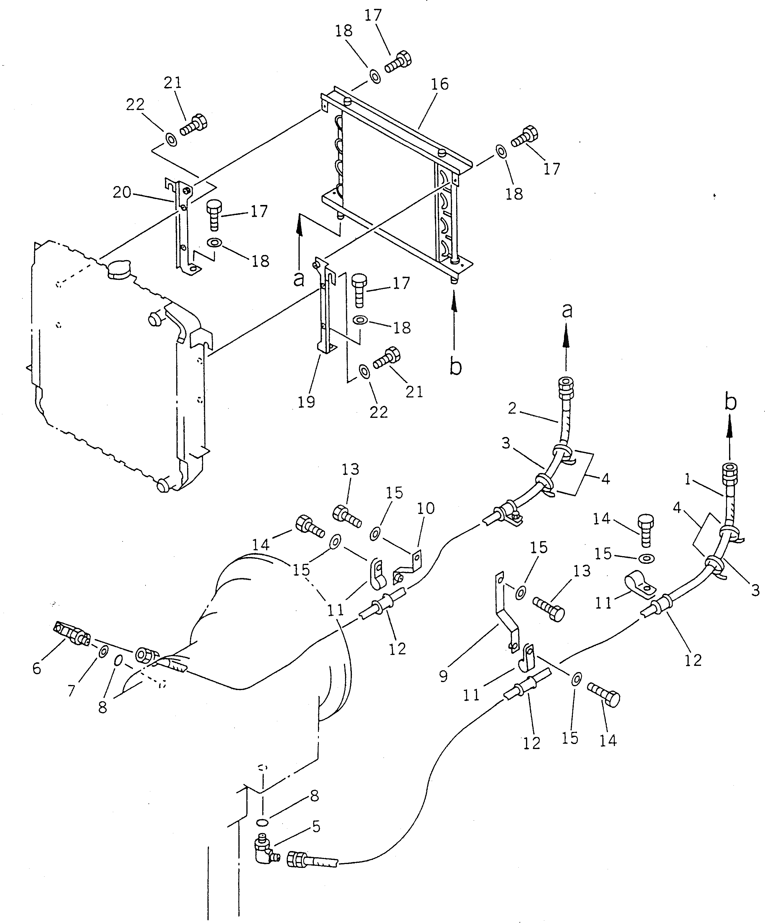
Запчасти Komatsu WA30-3 ТРАНСМИССИЯ МАСЛОПРОВОДЯЩАЯ ЛИНИЯ РУЛЕВ. УПРАВЛЕНИЕ И СИСТЕМА УПРАВЛЕНИЯ
№
Артикул
Название
Примечание
Количество
3
363-49-21210
COVER
SN: 9001-UP
2шт.
4
08034-10520
BAND
SN: 9001-UP
4шт.
6
362-49-31111
ELBOW
SN: 9001-UP
1шт.
7
362-49-31170
SEAT
SN: 9001-9600
1шт.
9
362-49-31130
BRACKET,L.H.
SN: 9001-UP
1шт.
10
362-49-31120
BRACKET,R.H.
SN: 9001-UP
1шт.
12
198-61-44120
CUSHION
SN: 9001-UP
4шт.
16
363-49-21140
OIL COOLER ASS'Y
SN: 9001-UP
1шт.
19
363-49-21150
PLATE,L.H.
SN: 9001-UP
1шт.
20
363-49-21160
PLATE,R.H.
SN: 9001-UP
1шт.
Выбрано товаров: 22