Запчасти Komatsu WA30-3 ЦИЛИНДР РУЛЕВ. УПР-Я РУЛЕВ. УПРАВЛЕНИЕ И СИСТЕМА УПРАВЛЕНИЯ

Схема запчастей Komatsu WA30-3 - ЦИЛИНДР РУЛЕВ. УПР-Я РУЛЕВ. УПРАВЛЕНИЕ И СИСТЕМА УПРАВЛЕНИЯ
FIT
1:1
100%

Артикул

Название

Примечание

Количество

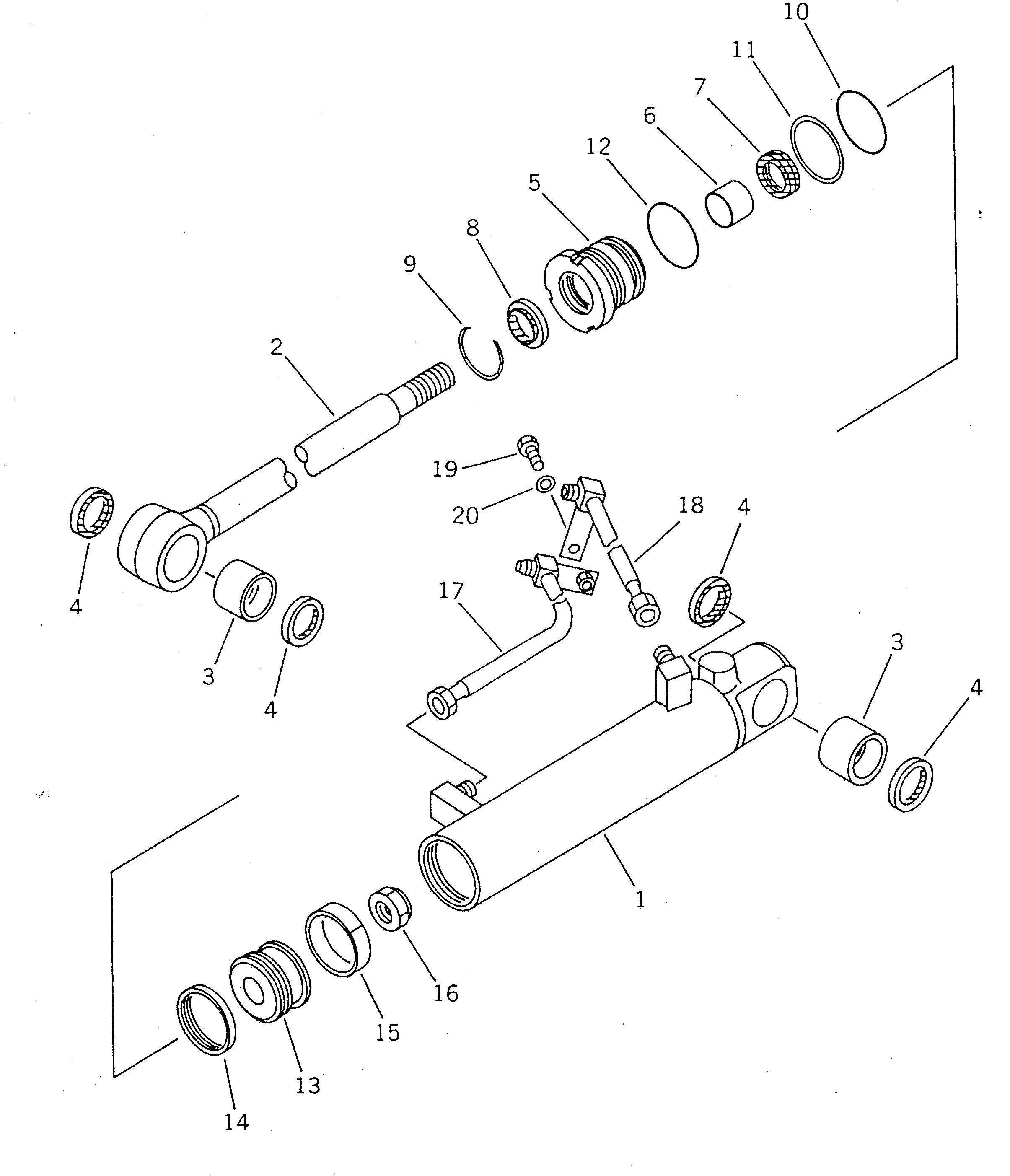
G-1

362-63-X2040

STEERING CYLINDER G.

SN: 9001-UP

1шт.

|$$2

====================

-1шт.

|$2

362-63-02040

CYLINDER ASS'Y

SN: 9001-UP

1шт.

1

362-63-52441

CYLINDER

SN: 9001-UP

1шт.

2

363-63-52220

ROD,PISTON

SN: 9001-UP

1шт.

3

07143-10304

BUSHING

SN: 9001-UP

2шт.

4

07145-00035

SEAL,DUST

SN: 9001-UP

4шт.

5

707-29-55910

HEAD

SN: 9001-UP

1шт.

6

07177-03025

BUSHING

SN: 9001-UP

1шт.

7

707-51-30210

PACKING,ROD

SN: 9001-UP

1шт.

8

707-56-30510

SEAL,DUST

SN: 9001-UP

1шт.

9

07179-12042

RING,SNAP

SN: 9001-UP

1шт.

10

707-34-50010

O-RING

SN: 9001-UP

1шт.

11

07001-02050

RING,BACK-UP

SN: 9001-UP

1шт.

12

07000-02055

O-RING

SN: 9001-UP

1шт.

13

707-36-55120

PISTON

SN: 9001-UP

1шт.

14

707-44-55120

RING,PISTON

SN: 9001-UP

1шт.

15

707-39-55110

RING,WEAR

SN: 9001-UP

1шт.

16

07165-12022

NUT

SN: 9001-UP

1шт.

17

363-62-25211

TUBE

SN: 9001-UP

1шт.

18

363-62-25221

TUBE

SN: 9001-UP

1шт.

19

01010-51025

BOLT

SN: 9001-UP

1шт.

20

01643-31032

WASHER

SN: 9001-UP

1шт.

|$$24

====================

-1шт.

Выбрано товаров: 0