Запчасти Komatsu WA30-3 КОВШ РЫЧАГ УПРАВЛ-Я (/) (ДЛЯ МНОГОЦЕЛЕВ. КОВШ) УПРАВЛ-Е РАБОЧИМ ОБОРУДОВАНИЕМ

Схема запчастей Komatsu WA30-3 - КОВШ РЫЧАГ УПРАВЛ-Я (/) (ДЛЯ МНОГОЦЕЛЕВ. КОВШ) УПРАВЛ-Е РАБОЧИМ ОБОРУДОВАНИЕМ
FIT
1:1
100%

Артикул

Название

Примечание

Количество

G-1

0

REWORK GROUP

SN: 9001-UP

1шт.

|$$2

====================

-1шт.

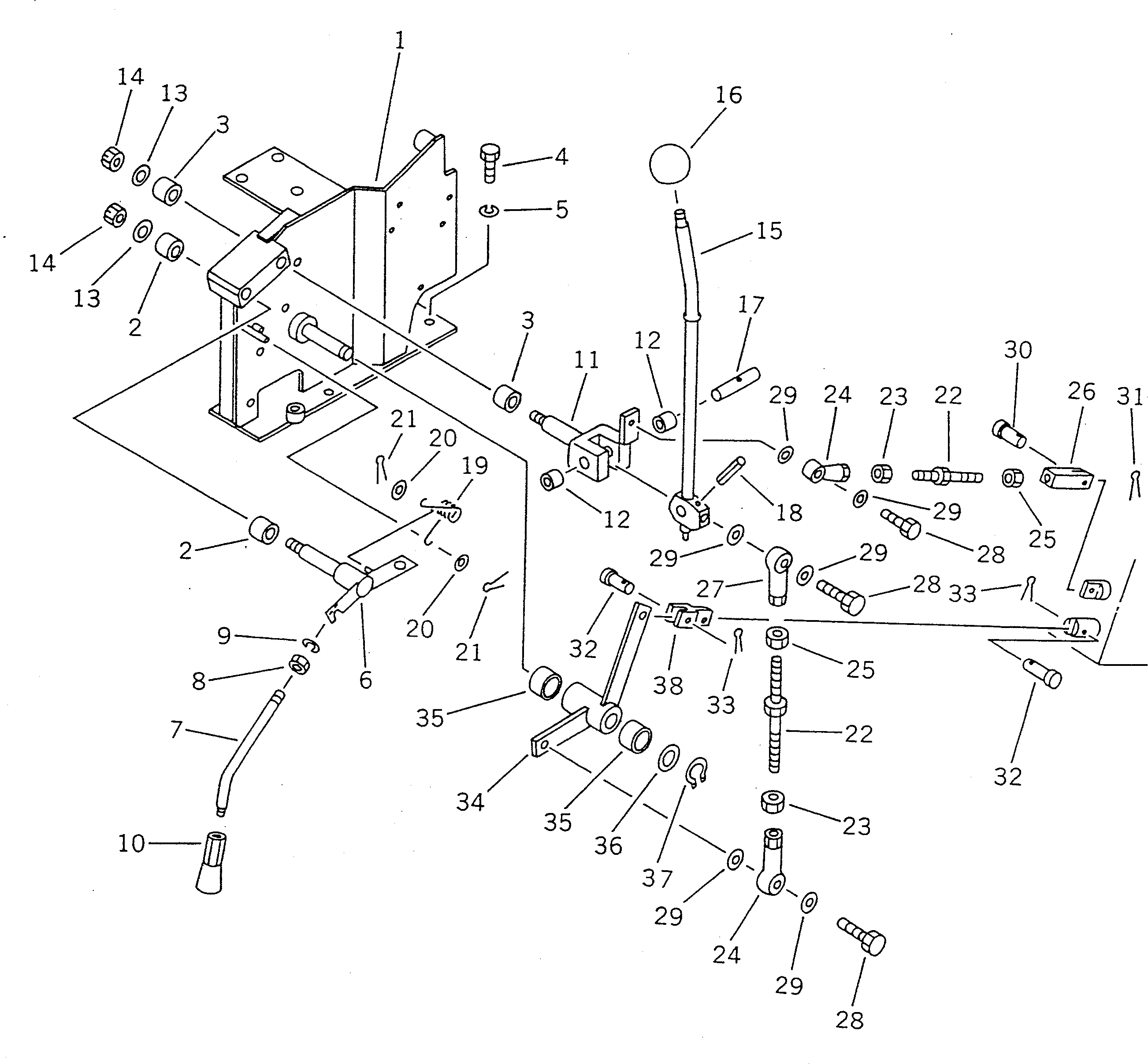
1

363-43-27153

BRACKET

SN: 9001-UP

1шт.

2

09350-01415

BUSHING

SN: 9001-UP

2шт.

3

363-43-27250

BEARING

SN: 9001-UP

2шт.

4

01010-51020

BOLT

SN: 9001-UP

4шт.

5

01602-21030

WASHER,SPRING

SN: 9001-UP

4шт.

6

363-Z65-1210

LEVER

SN: 9001-UP

1шт.

7

363-43-27121

BAR

SN: 9001-UP

1шт.

8

01580-10806

NUT

SN: 9001-UP

1шт.

9

01602-20825

WASHER,SPRING

SN: 9001-UP

1шт.

10

09305-00800

KNOB

SN: 9001-UP

1шт.

11

363-43-27184

YOKE

SN: 9001-UP

1шт.

12

363-43-27260

BEARING

SN: 9001-UP

2шт.

13

113-43-23230

WASHER

SN: 9001-UP

2шт.

14

01598-00809

NUT

SN: 9001-UP

2шт.

15

363-43-27145

LEVER

SN: 9001-UP

1шт.

16

201-43-28160

KNOB

SN: 9001-UP

1шт.

17

363-43-27161

PIN

SN: 9001-UP

1шт.

18

04025-00332

PIN,SPRING

SN: 9001-UP

1шт.

19

09463-00006

SPRING

SN: 9001-UP

1шт.

20

01641-20608

WASHER

SN: 9001-UP

2шт.

21

04050-11612

PIN,COTTER

SN: 9001-UP

2шт.

22

04248-30808

ROD

SN: 9001-UP

2шт.

23

01508-40805

NUT,L.H. THREAD

SN: 9001-UP

2шт.

24

04250-90847

END,ROD, L.H. THREAD

SN: 9001-UP

2шт.

25

01580-10806

NUT

SN: 9001-UP

2шт.

26

21E-43-12191

YOKE

SN: 9001-UP

1шт.

27

04250-80847

END,ROD

SN: 9001-UP

1шт.

28

01010-50825

BOLT

SN: 9001-UP

3шт.

29

04254-10823

SPACER

SN: 9001-UP

6шт.

30

04205-10520

PIN

SN: 9001-UP

1шт.

31

04050-11210

PIN,COTTER

SN: 9001-UP

1шт.

32

04205-10825

PIN

SN: 9001-UP

2шт.

33

04050-12015

PIN,COTTER

SN: 9001-UP

2шт.

34

363-43-27212

LEVER

SN: 9001-UP

1шт.

35

363-43-27250

BEARING

SN: 9001-UP

2шт.

36

01643-31445

WASHER

SN: 9001-UP

1шт.

37

04064-01410

RING,SNAP

SN: 9001-UP

1шт.

38

363-43-27220

YOKE

SN: 9001-UP

1шт.

|$$41

====================

-1шт.

Выбрано товаров: 41