Запчасти Komatsu WA30-3 КОВШ (ДЛЯ STOCK BREEDING) РАБОЧЕЕ ОБОРУДОВАНИЕ

Схема запчастей Komatsu WA30-3 - КОВШ (ДЛЯ STOCK BREEDING) РАБОЧЕЕ ОБОРУДОВАНИЕ
FIT
1:1
100%

Артикул

Название

Примечание

Количество

G-1

0

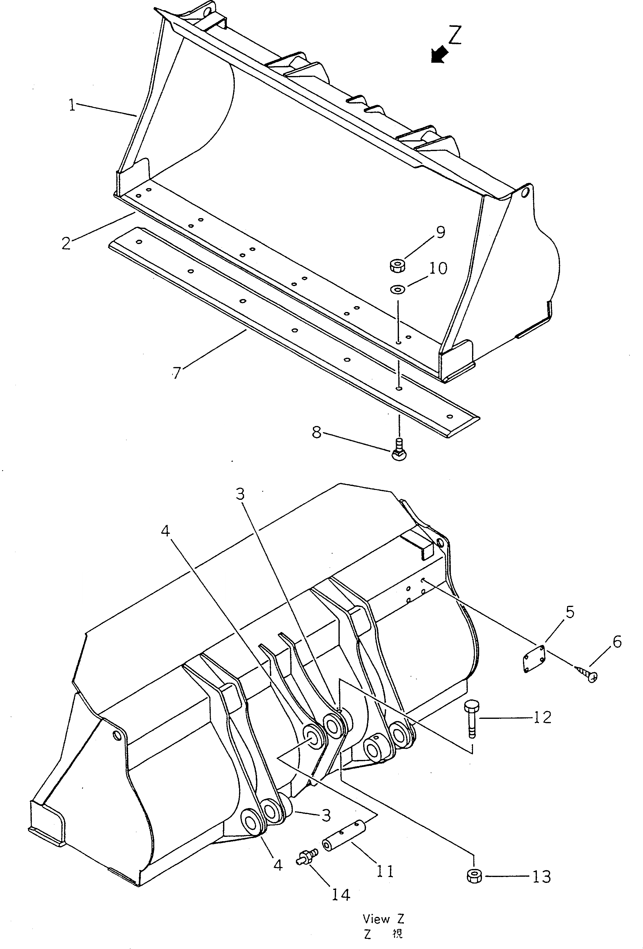
BUCKET GROUP,0.60M3

SN: 9001-UP

1шт.

|$$2

====================

-1шт.

1

362-Y02-1210

BUCKET,0.60M3

SN: 9001-UP

1шт.

2

363-70-21162

EDGE (WELDED)

SN: 9001-UP

1шт.

3

363-70-11170

BOSS (WELDED)

SN: 9001-UP

3шт.

4

363-70-11180

BOSS (WELDED)

SN: 9001-UP

3шт.

5

09601-00835

PLATE, NAME,(LIMITED SUPPLY)

SN: 9001-UP

1шт.

6

04418-13060

SCREW

SN: 9001-UP

4шт.

|$$9

====================

-1шт.

G-2

0

CUTTING EDGE GROUP,CUTTING

SN: 9001-UP

1шт.

|$$11

====================

-1шт.

7

363-70-21190

EDGE, 1690MM,CUTTING

SN: 9001-UP

1шт.

8

02090-11050

BOLT

SN: 9001-UP

7шт.

9

02205-11015

NUT

SN: 9001-UP

7шт.

10

01643-31645

WASHER

SN: 9001-UP

7шт.

|$$16

====================

-1шт.

G-3

0

BUCKET PIN GROUP

SN: 9001-UP

1шт.

|$$18

====================

-1шт.

11

362-70-31220

PIN

SN: 9001-UP

3шт.

12

01011-51000

BOLT

SN: 9001-UP

3шт.

13

01598-01011

NUT

SN: 9001-UP

3шт.

14

07020-00000

FITTING,GREASE

SN: 9001-UP

3шт.

|$$23

====================

-1шт.

Выбрано товаров: 0