Запчасти Komatsu WA30-3 РАЗГРУЗКАING ВИЛЫ РАБОЧЕЕ ОБОРУДОВАНИЕ

Схема запчастей Komatsu WA30-3 - РАЗГРУЗКАING ВИЛЫ РАБОЧЕЕ ОБОРУДОВАНИЕ
FIT
1:1
100%

Артикул

Название

Примечание

Количество

G-1

0

DUMPING FORK GROUP

SN: 9001-UP

1шт.

|$$2

====================

-1шт.

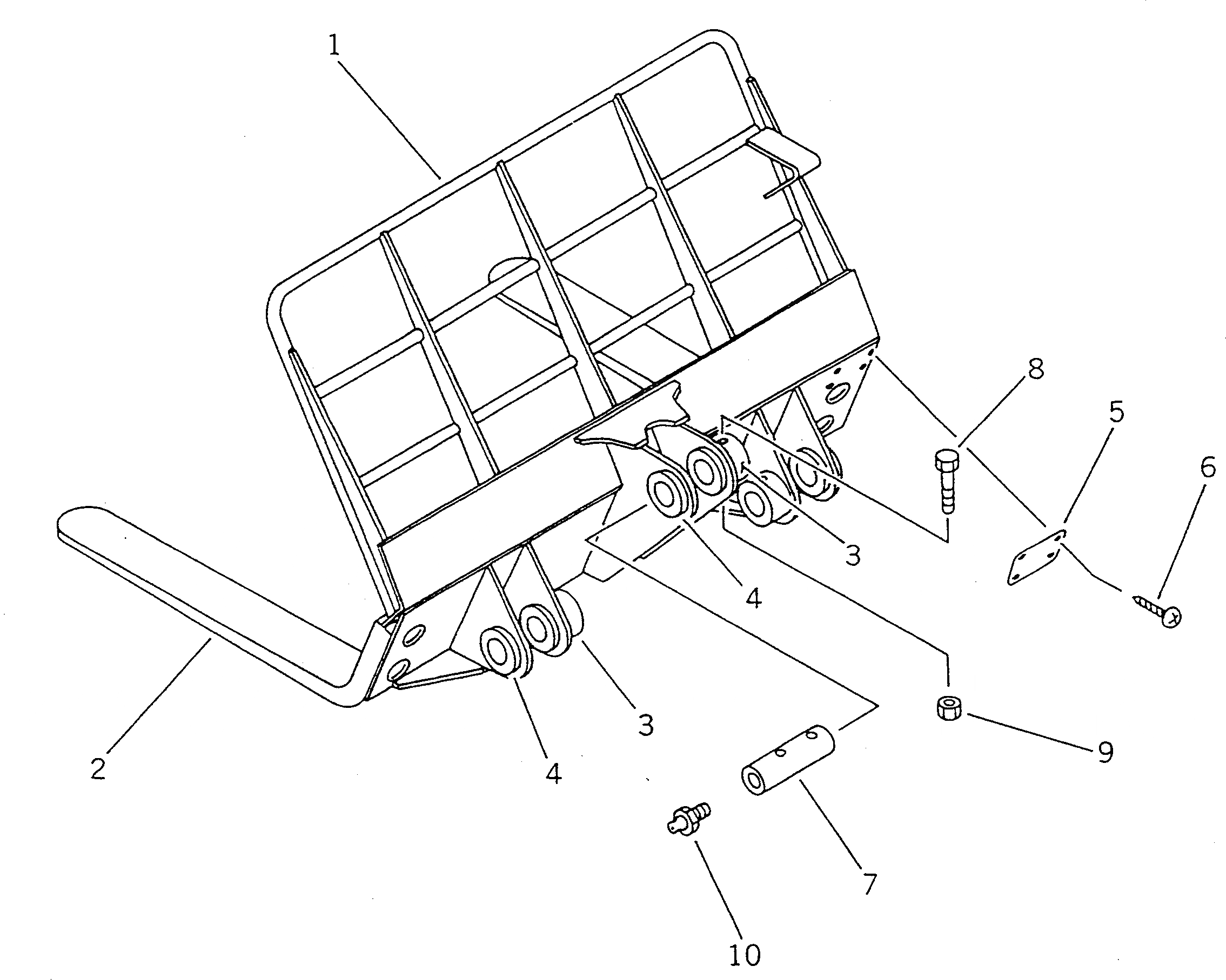
1

362-Y12-1110

DUMPING FORK ASS'Y

SN: 9001-UP

1шт.

2

362-912-1130

FORK

SN: 9001-UP

2шт.

3

363-70-11170

BOSS

SN: 9001-UP

3шт.

4

363-70-11180

BOSS

SN: 9001-UP

3шт.

5

09601-00835

PLATE, NAME,(LIMITED SUPPLY)

SN: 9001-UP

1шт.

6

04418-13060

SCREW

SN: 9001-UP

4шт.

|$$9

====================

-1шт.

G-2

0

BUCKET PIN GROUP

SN: 9001-UP

1шт.

|$$11

====================

-1шт.

7

362-70-31220

PIN

SN: 9001-UP

3шт.

8

01011-51000

BOLT

SN: 9001-UP

3шт.

9

01598-01011

NUT

SN: 9001-UP

3шт.

10

07020-00000

FITTING,GREASE

SN: 9001-UP

3шт.

|$$16

====================

-1шт.

Выбрано товаров: 16