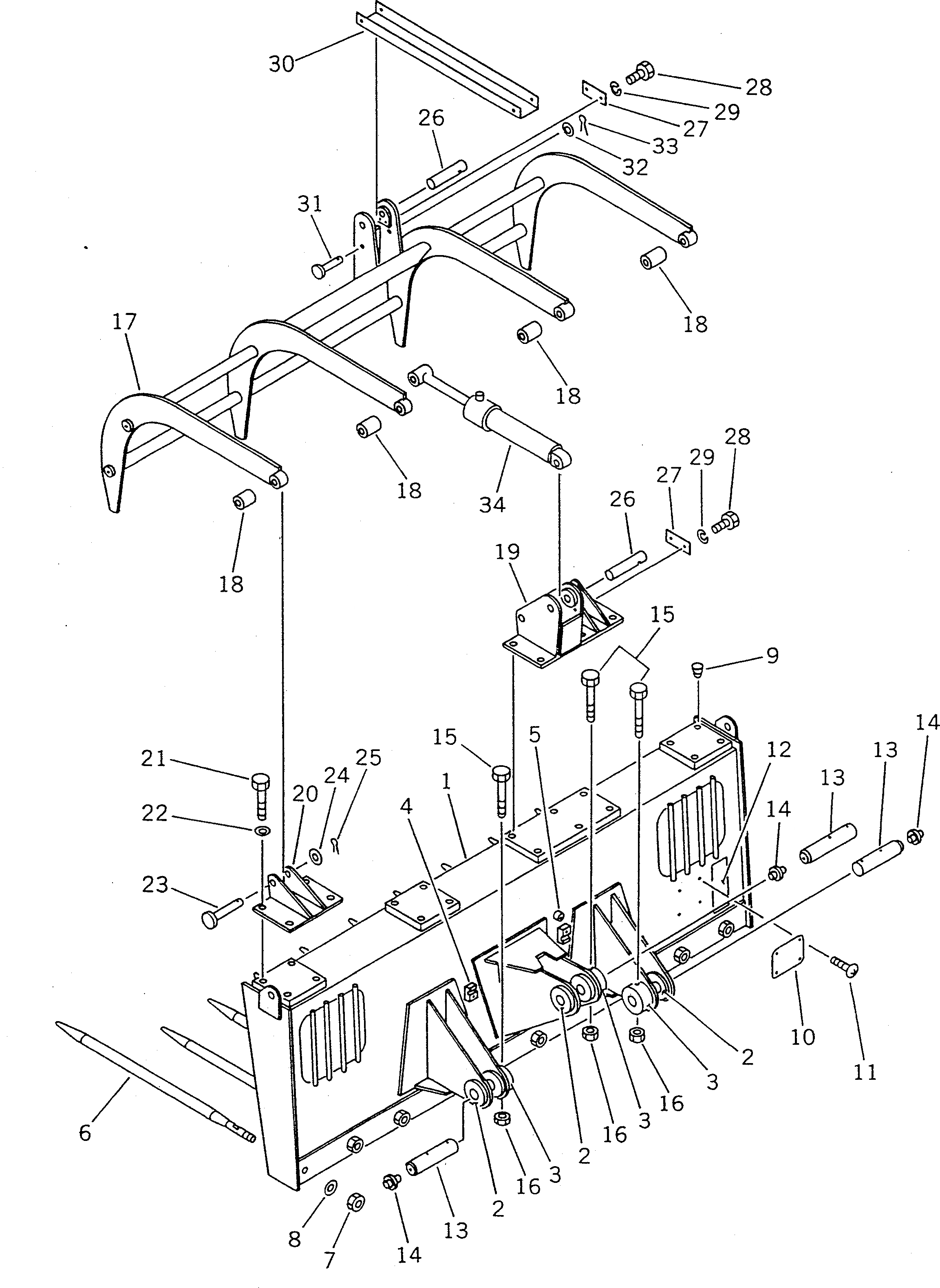
Запчасти Komatsu WA30-3 UTILITY ВИЛЫ¤ С ЗАХВАТ РАБОЧЕЕ ОБОРУДОВАНИЕ

Схема запчастей Komatsu WA30-3 - UTILITY ВИЛЫ¤ С ЗАХВАТ РАБОЧЕЕ ОБОРУДОВАНИЕ
FIT
1:1
100%

Артикул

Название

Примечание

Количество

G-1

0

FORK GROUP

SN: 9001-UP

1шт.

|$$2

====================

-1шт.

1

362-Y14-1111

BODY

SN: 9601-UP

1шт.

1

362-Y14-1110

BODY

SN: 9001-9600

1шт.

2

363-70-11180

BOSS (WELDED)

SN: 9001-UP

3шт.

3

363-70-11170

BOSS (WELDED)

SN: 9001-UP

3шт.

4

20T-62-13710

SUPPORT (WELDED)

SN: 9001-UP

2шт.

5

01571-01016

SEAT (WELDED)

SN: 9001-UP

1шт.

6

362-913-1120

BAR

SN: 9001-UP

10шт.

7

01580-12016

NUT

SN: 9001-UP

10шт.

8

01643-32060

WASHER

SN: 9001-UP

10шт.

9

07049-01215

PLUG

SN: 9001-UP

18шт.

10

09601-00835

PLATE, NAME

SN: 9001-UP

1шт.

11

04418-13060

SCREW

SN: 9001-UP

4шт.

12

362-Y14-1120

PLATE, SAFETY

SN: 9001-UP

1шт.

|$$16

====================

-1шт.

G-2

0

BUCKET PIN GROUP

SN: 9001-UP

1шт.

|$$18

====================

-1шт.

13

362-70-31220

PIN

SN: 9001-UP

3шт.

14

07020-00000

FITTING,GREASE

SN: 9001-UP

3шт.

15

01011-51000

BOLT

SN: 9001-UP

3шт.

16

01598-01011

NUT

SN: 9001-UP

3шт.

|$$23

====================

-1шт.

G-3

0

GRAPPLE GROUP

SN: 9001-UP

1шт.

|$$25

====================

-1шт.

17

362-Y14-1211

GRAPPLE

SN: 9601-UP

1шт.

17

362-Y14-1210

GRAPPLE

SN: 9001-9600

1шт.

18

09350-02025

BUSHING

SN: 9001-UP

4шт.

19

363-Z14-1221

BRACKET

SN: 9601-UP

1шт.

19

363-Z14-1220

BRACKET

SN: 9001-9600

1шт.

20

363-Z14-1230

BRACKET

SN: 9001-UP

4шт.

21

01010-51225

BOLT

SN: 9001-UP

18шт.

22

01643-31232

WASHER

SN: 9001-UP

18шт.

23

04205-12060

PIN

SN: 9001-UP

4шт.

24

01640-22032

WASHER

SN: 9001-UP

4шт.

25

04050-15030

PIN,COTTER

SN: 9001-UP

4шт.

26

09241-3A115

PIN

SN: 9001-UP

2шт.

27

04082-00110

LOCK

SN: 9001-UP

2шт.

28

01010-51020

BOLT

SN: 9001-UP

4шт.

29

01602-21030

WASHER,SPRING

SN: 9001-UP

4шт.

30

362-913-1170

COVER

SN: 9001-UP

1шт.

31

363-Z14-1240

PIN

SN: 9001-UP

2шт.

32

01641-21626

WASHER

SN: 9001-UP

4шт.

33

04050-14025

PIN,COTTER

SN: 9001-UP

4шт.

|$$45

====================

-1шт.

34

362-63-X2090

CYLINDER GROUP

SN: 9001-UP

1шт.

Выбрано товаров: 46