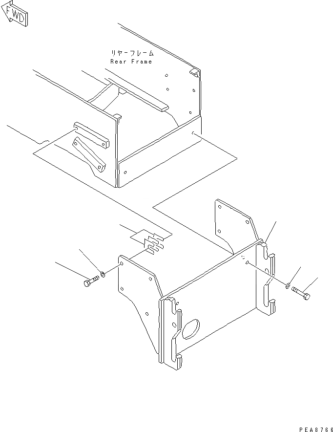
Запчасти Komatsu WA30-5 РАМА КРЕПЛЕНИЕ (ДЛЯ BACK HOE)(№78-) ЧАСТИ КОРПУСА

Схема запчастей Komatsu WA30-5 - РАМА КРЕПЛЕНИЕ (ДЛЯ BACK HOE)(№78-) ЧАСТИ КОРПУСА
1
2
3
4
4
5
FIT
1:1
100%

Артикул

Название

Примечание

Количество

1

363-855-3820

BRACKET

SN: 17840-UP

1шт.

2

01010-82075

BOLT

SN: 15001-UP

2шт.

3

01010-82055

BOLT

SN: 17840-UP

8шт.

4

01643-32060

WASHER

SN: 15001-UP

10шт.

5

363-855-3680

SHIM, 0.2MM

SN: 15001-UP

16шт.

5

415-855-1140

SHIM, 0.5MM

SN: 15001-UP

8шт.

5

415-855-1130

SHIM, 1.6MM

SN: 15001-UP

8шт.

Выбрано товаров: 7