Запчасти Komatsu WA30-5 ПАНЕЛЬ ПРИБОРОВ(№-889) ЭЛЕКТРИКА

Схема запчастей Komatsu WA30-5 - ПАНЕЛЬ ПРИБОРОВ(№-889) ЭЛЕКТРИКА
FIT
1:1
100%

Артикул

Название

Примечание

Количество

|$1

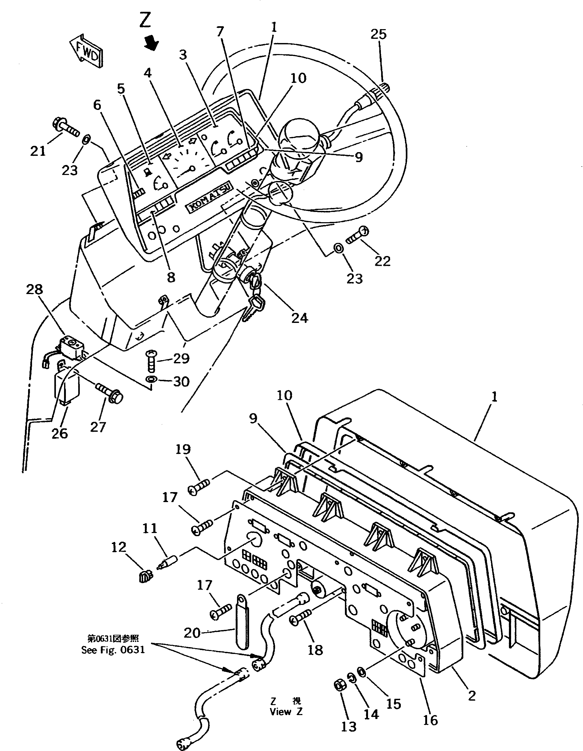
363-06-35110

PANEL ASS'Y

SN: 15001-18891

1шт.

1

363-06-35370

PANEL

SN: 15001-18891

1шт.

2

42A-06-15220

HOUSING

SN: 15001-@

1шт.

3

363-06-35310

GAUGE,TEMPERATURE

SN: 15001-18891

1шт.

4

363-06-35320

TACHOMETER

SN: 15001-@

1шт.

5

363-06-35380

GAUGE,FUEL

SN: 15001-18891

1шт.

6

42A-06-15320

METER,SERVICE

SN: 15001-@

1шт.

7

363-06-35330

LENS

SN: 15001-18891

1шт.

8

363-06-35340

LENS

SN: 15001-18891

1шт.

9

42A-06-15280

PLATE,SHADOW

SN: 15001-@

1шт.

10

42A-06-15290

COVER,FRONT

SN: 15001-@

1шт.

11

363-06-35390

BULB, 1.4W

SN: 15001-18891

15шт.

12

363-06-35360

SOCKET

SN: 15001-@

15шт.

13

01580-10302

NUT

SN: 15001-@

15шт.

14

01601-20307

WASHER,SPRING

SN: 15001-@

15шт.

15

01641-20305

WASHER

SN: 15001-@

15шт.

16

363-06-36310

PLATE,PRINT

SN: 15001-@

1шт.

17

01370-00412

SCREW

SN: 15001-18891

7шт.

18

01023-10408

SCREW

SN: 15001-@

2шт.

19

42A-06-15350

SCREW

SN: 15001-18891

2шт.

20

42A-06-15340

CLIP

SN: 15001-18891

2шт.

21

363-06-35410

BOLT

SN: 15001-@

3шт.

22

01220-70616

SCREW

SN: 15001-@

2шт.

23

01642-40608

WASHER

SN: 15001-@

5шт.

24

363-06-31110

SWITCH,STARTING

SN: 15001-@

1шт.

25

363-06-31140

SWITCH,COMBINATION

SN: 15001-@

1шт.

26

363-06-31240

FLASHER

SN: 17863-@

1шт.

26

08077-21201

FLASHER

SN: 15001-17862

1шт.

27

01435-00610

BOLT

SN: 15001-@

1шт.

28

363-06-31150

BUZZER

SN: 15001-@

1шт.

29

01023-10414

SCREW

SN: 15001-@

2шт.

30

01641-20405

WASHER

SN: 15001-@

2шт.

Выбрано товаров: 32