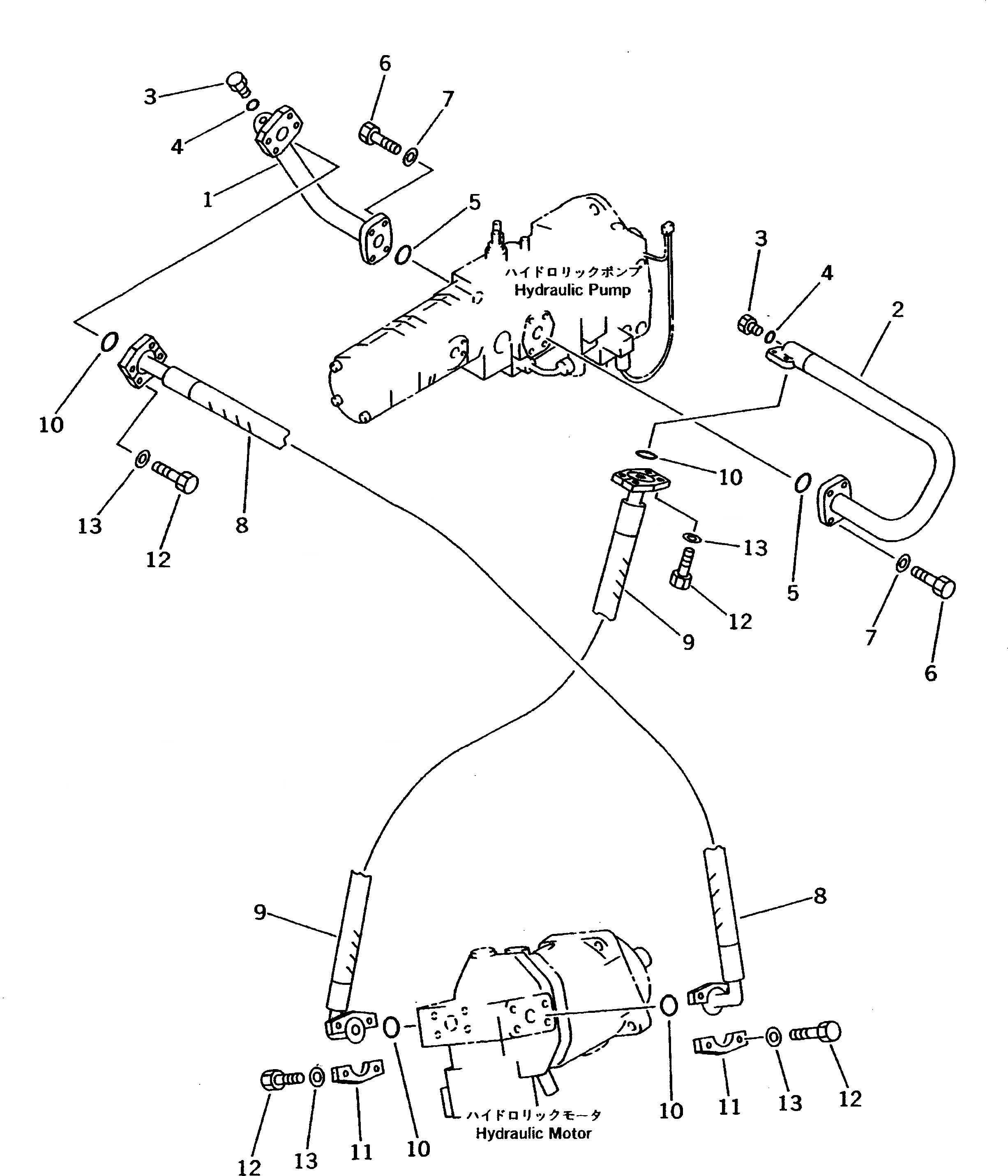
Запчасти Komatsu WA30-5 HST ТРУБЫ (ОСНОВН. ЛИНИЯ)(№-789) ГИДРОТРАНСФОРМАТОР И ТРАНСМИССИЯ

Схема запчастей Komatsu WA30-5 - HST ТРУБЫ (ОСНОВН. ЛИНИЯ)(№-789) ГИДРОТРАНСФОРМАТОР И ТРАНСМИССИЯ
FIT
1:1
100%

Артикул

Название

Примечание

Количество

1

363-18-31110

TUBE

SN: 15001-17839

1шт.

2

362-18-41170

TUBE

SN: 15001-17839

1шт.

3

07040-11007

PLUG

SN: 15001-@

2шт.

4

07002-11023

O-RING

SN: 15001-@

2шт.

5

07000-13030

O-RING

SN: 15001-@

2шт.

6

02010-70632

BOLT

SN: 15001-17839

8шт.

7

01643-51032

WASHER

SN: 15001-@

8шт.

8

363-18-31120

HOSE

SN: 15001-17839

1шт.

9

363-18-31140

HOSE

SN: 15001-17839

1шт.

10

363-18-31390

O-RING

SN: 15001-@

4шт.

11

363-18-31380

FLANGE,SPLIT

SN: 15001-@

8шт.

12

02010-70638

BOLT

SN: 15001-@

16шт.

13

01643-51032

WASHER

SN: 15001-@

16шт.

Выбрано товаров: 13