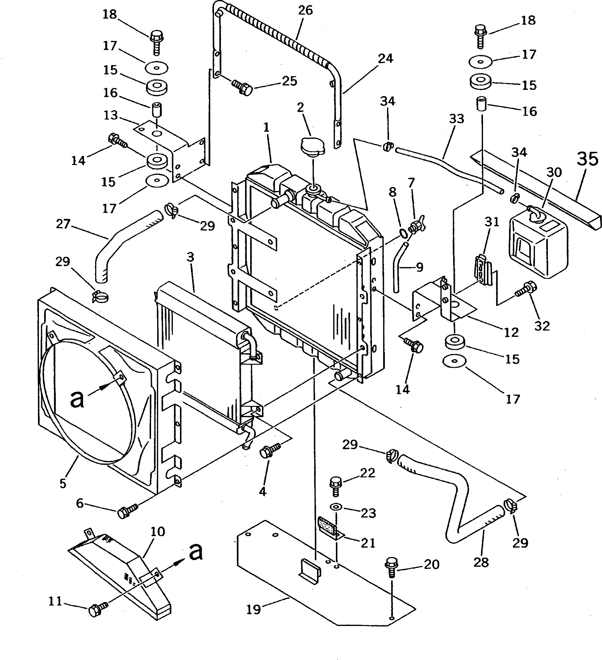
Запчасти Komatsu WA30-5 РАДИАТОР И ТРУБЫ(№-789) СИСТЕМА ОХЛАЖДЕНИЯ

Схема запчастей Komatsu WA30-5 - РАДИАТОР И ТРУБЫ(№-789) СИСТЕМА ОХЛАЖДЕНИЯ
FIT
1:1
100%

Артикул

Название

Примечание

Количество

1

362-03-41110

RADIATOR ASS'Y

SN: 15001-@

1шт.

2

363-03-31330

CAP

SN: 15001-@

1шт.

3

362-03-41310

OIL COOLER ASS'Y

SN: 15001-@

1шт.

4

363-03-31350

BOLT

SN: 15001-@

4шт.

5

362-03-41120

SHROUD

SN: 15001-@

1шт.

6

363-03-31340

BOLT

SN: 15001-@

6шт.

7

363-03-31360

VALVE

SN: 15001-@

1шт.

8

363-03-31370

O-RING

SN: 15001-@

1шт.

9

363-03-31320

HOSE

SN: 15001-@

1шт.

10

42A-03-21410

NET

SN: 17840-@

1шт.

10

0

NET

SN: 15001-17839

1шт.

11

01435-00812

BOLT

SN: 15001-@

2шт.

12

363-03-31141

BRACKET,L.H.

SN: 15001-17839

1шт.

13

363-03-31151

BRACKET,R.H.

SN: 15001-17839

1шт.

14

01435-00812

BOLT

SN: 15001-@

4шт.

15

416-03-11221

CUSHION

SN: 15001-@

4шт.

16

363-03-31160

TUBE

SN: 15001-@

2шт.

17

416-03-11210

WASHER

SN: 15001-17839

4шт.

18

01435-01055

BOLT

SN: 15001-@

2шт.

19

363-03-31171

COVER

SN: 15001-@

1шт.

19

363-855-3231

COVER,(FOR PRESSURE PICK-UP LINE)

SN: 15001-@

1шт.

20

01435-01016

BOLT

SN: 15001-@

2шт.

21

363-03-31190

BRACKET

SN: 15001-@

1шт.

22

01435-01016

BOLT

SN: 15001-@

2шт.

23

01643-51032

WASHER

SN: 15001-@

2шт.

24

363-03-31211

BAR

SN: 15001-@

1шт.

25

01435-00816

BOLT

SN: 15001-@

4шт.

26

363-18-32130

PROTECTOR

SN: 15001-@

1шт.

27

363-03-32110

HOSE

SN: 15001-@

1шт.

28

363-03-32120

HOSE

SN: 15001-@

1шт.

29

07281-00419

CLAMP

SN: 15001-@

4шт.

30

42A-03-11120

TANK

SN: 15001-@

1шт.

31

42A-03-11130

BRACKET

SN: 15001-@

1шт.

32

01435-00612

BOLT

SN: 15001-@

2шт.

33

363-03-33110

HOSE

SN: 15001-@

1шт.

34

07285-00115

CLIP

SN: 15001-@

2шт.

35

363-03-31270

SHEET

SN: 16249-@

1шт.

Выбрано товаров: 0