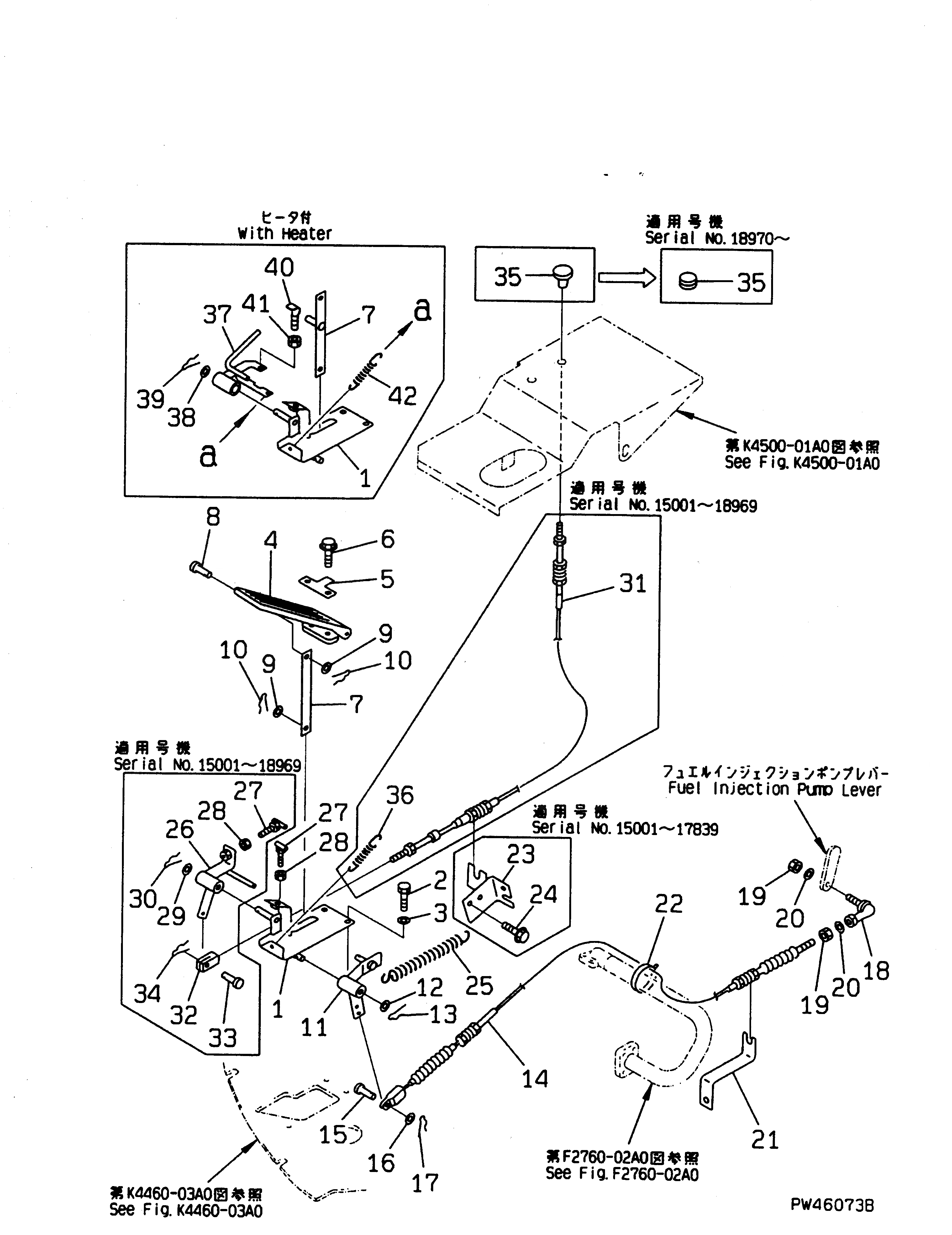
Запчасти Komatsu WA30-5 ПЕДАЛЬ АКСЕЛЕРАТОРАAND МЕХАНИЗМ КАБИНА ОПЕРАТОРА И СИСТЕМА УПРАВЛЕНИЯ

Схема запчастей Komatsu WA30-5 - ПЕДАЛЬ АКСЕЛЕРАТОРАAND МЕХАНИЗМ КАБИНА ОПЕРАТОРА И СИСТЕМА УПРАВЛЕНИЯ
FIT
1:1
100%

Артикул

Название

Примечание

Количество

1

363-43-31120

BRACKET

SN: 15001-UP

1шт.

2

01010-80616

BOLT

SN: 15001-UP

3шт.

3

01643-30623

WASHER

SN: 15001-UP

3шт.

4

363-43-31110

PEDAL

SN: 15001-UP

1шт.

5

363-43-31240

PLATE

SN: 15001-UP

1шт.

6

01435-00625

BOLT

SN: 15001-UP

2шт.

7

363-43-31151

PLATE

SN: 18970-UP

1шт.

|7

363-43-31150

PLATE

SN: 15001-18969

1шт.

8

04205-10618

PIN

SN: 15001-UP

1шт.

9

01641-20608

WASHER

SN: 15001-UP

2шт.

10

04052-10633

PIN,SNAP

SN: 15001-UP

2шт.

11

363-43-31140

LEVER

SN: 15001-UP

1шт.

12

01641-21223

WASHER

SN: 15001-UP

1шт.

13

04052-11253

PIN,SNAP

SN: 15001-UP

1шт.

14

363-43-31160

CABLE

SN: 15001-UP

1шт.

15

04205-10618

PIN

SN: 15001-UP

1шт.

16

01641-20608

WASHER

SN: 15001-UP

1шт.

17

04052-10633

PIN,SNAP

SN: 15001-UP

1шт.

18

04256-40615

JOINT,BALL

SN: 15001-UP

1шт.

19

01580-10605

NUT

SN: 15001-UP

2шт.

20

01643-30623

WASHER

SN: 15001-UP

2шт.

21

363-43-31181

SUPPORT

SN: 15001-UP

1шт.

22

08034-20519

BAND

SN: 15001-UP

1шт.

23

363-43-31230

SUPPORT

SN: 15001-17839

1шт.

24

01435-00816

BOLT

SN: 15001-17839

2шт.

25

363-43-31170

SPRING

SN: 15001-UP

1шт.

26

363-43-31130

LEVER

SN: 15001-18969

1шт.

27

363-43-31251

BOLT

SN: 21704-UP

1шт.

|27

363-43-31250

BOLT

SN: 18970-21703

1шт.

|27

363-43-31250

BOLT

SN: 15001-18969

2шт.

28

01580-10806

NUT

SN: 18970-UP

1шт.

|28

01580-10806

NUT

SN: 15001-18969

2шт.

29

01641-21223

WASHER

SN: 15001-18969

1шт.

30

04052-11253

PIN,SNAP

SN: 15001-18969

1шт.

31

363-43-31191

CABLE

SN: 15001-18969

1шт.

|31

0

CABLE

SN: (15001-15580)

1шт.

32

04211-20500

YOKE

SN: 15001-18969

1шт.

33

04205-10514

PIN

SN: 15001-18969

1шт.

34

04052-10530

PIN,SNAP

SN: 15001-18969

1шт.

35

09415-01008

CAP

SN: 18970-UP

1шт.

|35

417-43-16470

KNOB

SN: 15001-18969

1шт.

36

42A-54-11250

SPRING

SN: 15001-18969

1шт.

37

363-43-31260

LEVER,(WITH CAR HEATER)

SN: 18970-UP

1шт.

38

01641-21223

WASHER,(WITH CAR HEATER)

SN: 18970-UP

1шт.

39

04052-11253

PIN,(WITH CAR HEATER)

SN: 18970-UP

1шт.

40

363-43-31271

BAR,(WITH CAR HEATER)

SN: 22059-UP

1шт.

|40

363-43-31270

BAR,(WITH CAR HEATER)

SN: 18970-22058

1шт.

41

01580-10605

NUT,(WITH CAR HEATER)

SN: 18970-UP

1шт.

42

42A-54-11250

SPRING,(WITH CAR HEATER)

SN: 18970-UP

1шт.

Выбрано товаров: 49