Запчасти Komatsu WA30-5 КОВШ ПОЗИЦИОНЕР(№-789) РАБОЧЕЕ ОБОРУДОВАНИЕ

Схема запчастей Komatsu WA30-5 - КОВШ ПОЗИЦИОНЕР(№-789) РАБОЧЕЕ ОБОРУДОВАНИЕ
FIT
1:1
100%

Артикул

Название

Примечание

Количество

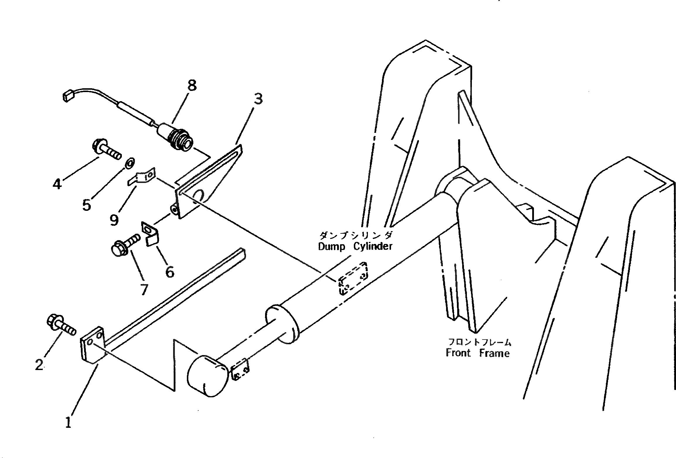
1

363-44-31110

BAR

SN: 15001-@

1шт.

2

01435-01025

BOLT

SN: 15001-@

2шт.

3

363-44-31120

PLATE

SN: 15001-17839

1шт.

4

01435-01020

BOLT

SN: 15001-@

2шт.

5

01643-31032

WASHER

SN: 15001-@

2шт.

6

363-44-31130

PLATE

SN: 15001-17839

1шт.

7

01435-01020

BOLT

SN: 15001-17839

1шт.

8

363-06-31120

SWITCH

SN: 15001-@

1шт.

9

08053-01510

CLIP

SN: 15001-@

1шт.

Выбрано товаров: 9