Запчасти Komatsu WA30-5 ОСНОВН. НАСОС (ПОРШЕНЬ НАСОС ВНУТР. ЧАСТИ) (КРЫШКАAND РАЗГРУЗ. КЛАПАН)(№-8) ОСНОВН. КОМПОНЕНТЫ И РЕМКОМПЛЕКТЫ

Схема запчастей Komatsu WA30-5 - ОСНОВН. НАСОС (ПОРШЕНЬ НАСОС ВНУТР. ЧАСТИ) (КРЫШКАAND РАЗГРУЗ. КЛАПАН)(№-8) ОСНОВН. КОМПОНЕНТЫ И РЕМКОМПЛЕКТЫ
FIT
1:1
100%

Артикул

Название

Примечание

Количество

|1

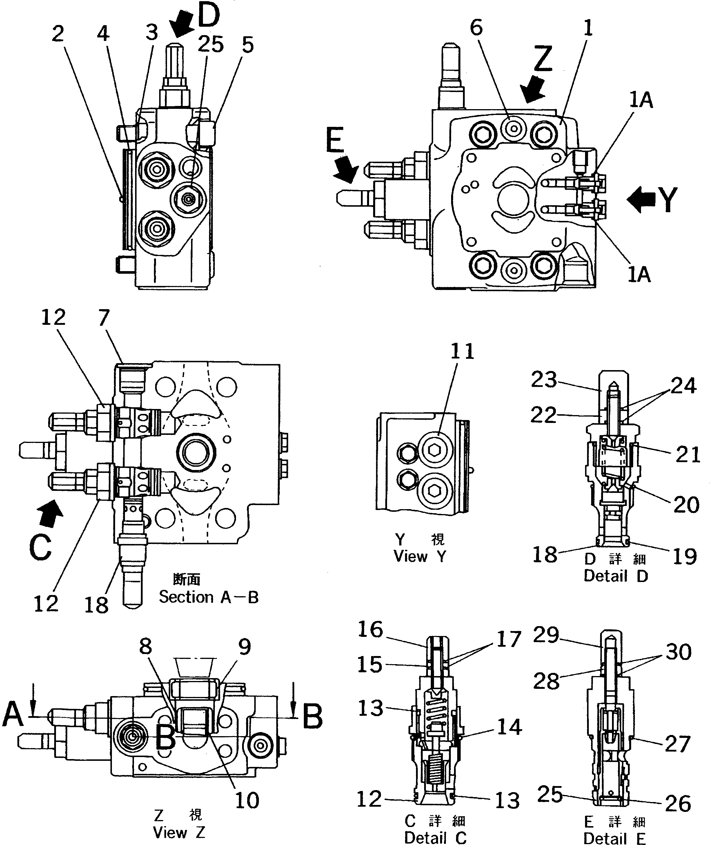
362-17-41101

PUMP ASS'Y,(A4V40DA-990-2)

SN: 16007-16158

1шт.

|1

362-17-41101

PUMP ASS'Y,(A4V40DA-990-1)

SN: 15806-16006

1шт.

|1

362-17-41101

PUMP ASS'Y,(A4V40DA-990-0)

SN: 15001-15805

1шт.

|$$4

THESE ASSEMBLIES CONSIST OF ALL PARTS SHOWN IN FIGS.Y1610-01A0 TO Y1610-07A0.

-1шт.

|$$5

THE UCHIDA YUATSU PART NUMBER IS THAT UC IS REMOVED FROM KOMATSU PART NUMBER LISTED BELOW.

-1шт.

|1

UCB1141R9827-0

PUMP ASS'Y,PISTON

SN: 15001-16158

1шт.

|$$7

THIS ASSEMBLY CONSISTS OF ALL PARTS SHOWN IN FIGS.Y1610-02A0 T0 Y1610-06A0.

-1шт.

|1

0

COVER ASS'Y

SN: 15001-16158

1шт.

1

0

COVER

SN: 15001-16158

1шт.

1A

UC1300134002

O-RING

SN: 15001-@

2шт.

2

0

PIN

SN: 15001-@

1шт.

3

0

RING

SN: 15001-@

2шт.

4

02892-03075

O-RING

SN: 15001-@

1шт.

5

0

BOLT

SN: 15001-@

4шт.

6

UC1607054546

PLUG

SN: 15001-16158

2шт.

|6

416-62-11480

O-RING

SN: 15001-16158

1шт.

7

UC1701533398

PLUG

SN: 15001-@

2шт.

|7

418-62-11620

O-RING

SN: 15001-@

1шт.

8

0

COUPLING

SN: 15001-@

1шт.

9

0

BEARING

SN: 15001-@

1шт.

10

0

RING,SNAP

SN: 15001-@

1шт.

11

0

PLUG

SN: 15001-16158

2шт.

|11

415-62-11560

O-RING

SN: 15001-16158

1шт.

|12

UC4100342536

RELIEF VALVE ASS'Y,HIGH PRESSURE

SN: 15001-@

2шт.

12

0

VALVE ASS'Y

SN: 15001-@

1шт.

13

419-906-1460

O-RING

SN: 15001-@

2шт.

14

UC1300170008

O-RING

SN: 15001-@

1шт.

15

UC1609041827

NUT

SN: 15001-@

1шт.

16

UC1100310514

NUT,CAP

SN: 15001-@

1шт.

17

UC1800042449

O-RING

SN: 15001-@

2шт.

|18

UC4100337286

RELIEF VALVE ASS'Y,LOW PRESSURE

SN: 15001-@

1шт.

18

0

VALVE ASS'Y

SN: 15001-@

1шт.

19

UC1300038005

O-RING

SN: 15001-@

1шт.

20

419-906-1460

O-RING

SN: 15001-@

1шт.

21

UC1300150004

O-RING

SN: 15001-@

1шт.

22

UC1609041827

NUT

SN: 15001-@

1шт.

23

UC1100310514

NUT,CAP

SN: 15001-@

1шт.

24

UC1800042449

O-RING

SN: 15001-@

2шт.

|25

UC4100337617

DA CURTRIDGE ASS'Y

SN: 15001-@

1шт.

25

0

DA CURTRIDGE ASS'Y

SN: 15001-@

1шт.

26

0

RING,SNAP

SN: 15001-@

1шт.

27

UC1300170008

O-RING

SN: 15001-@

1шт.

28

UC1609041836

NUT

SN: 15001-@

1шт.

29

UC1100310505

NUT,CAP

SN: 15001-@

1шт.

30

02890-01009

O-RING

SN: 15001-@

2шт.

Выбрано товаров: 45