Запчасти Komatsu WA30-5-X ОТВОД ВЫХЛОПН. ГАЗОВ(№-) КОМПОНЕНТЫ ДВИГАТЕЛЯ

Схема запчастей Komatsu WA30-5-X - ОТВОД ВЫХЛОПН. ГАЗОВ(№-) КОМПОНЕНТЫ ДВИГАТЕЛЯ
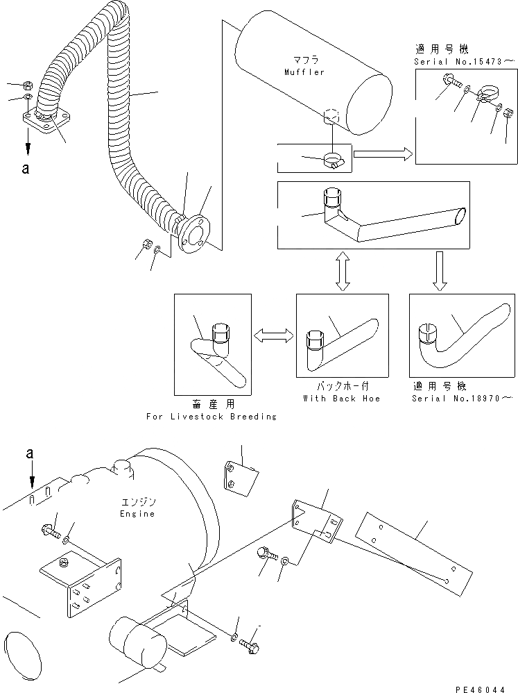
1
2
3
3
4
4
5
6
7
8
9
10
10
11
12
13
14
15
15
15
15
16
16
17
18
19
19
FIT
1:1
100%

Артикул

Название

Примечание

Количество

1

362-01-44130

BRACKET,L.H.

SN: 16411-UP

1шт.

|1

\4\363-01-34110

BRACKET,L.H.

SN: 15001-16410

1шт.

|$$3

(362-01-44130{362-01-44111¤}

-1шт.

|$$4

362-01-41120{362-01-41110)}

-1шт.

2

362-01-44111

BRACKET,R.H.

SN: 16411-UP

1шт.

|2

\4\362-01-44110

BRACKET,R.H.

SN: 15001-16410

1шт.

|$$7

(362-01-44111{362-01-44130¤}

-1шт.

|$$8

362-01-41120{362-01-41110)}

-1шт.

3

01435-01030

BOLT

SN: 15001-UP

4шт.

4

01643-31032

WASHER

SN: 15001-UP

4шт.

5

362-01-44120

PLATE

SN: 15001-UP

1шт.

6

01435-00825

BOLT

SN: 15001-UP

4шт.

7

01643-30823

WASHER

SN: 15001-UP

4шт.

|8

362-02-41100

PIPE ASS'Y

SN: 15001-UP

1шт.

8

362-02-41110

PIPE

SN: 15001-UP

1шт.

9

363-02-31121

COVER

SN: 15863-UP

1шт.

|9

363-02-31120

COVER

SN: 15001-15862

1шт.

10

07281-00489

CLAMP

SN: 15001-UP

2шт.

11

01584-00806

NUT

SN: 15001-UP

4шт.

12

01643-30823

WASHER

SN: 15001-UP

4шт.

13

01584-01008

NUT

SN: 15001-UP

3шт.

14

01643-31032

WASHER

SN: 15001-UP

3шт.

15

362-02-41122

PIPE

SN: 22130-UP

1шт.

|15

362-02-41121

PIPE

SN: 18970-22102

1шт.

|15

362-02-41120

PIPE

SN: 15001-18969

1шт.

|15

363-855-3592

PIPE,(WITH BACK HOE)

SN: 22103-UP

1шт.

|15

363-855-3591

PIPE,(WITH BACK HOE)

SN: 15001-22102

1шт.

|15

362-J89-4312

PIPE,(FOR LIVESTOCK RAISING SPEC.)

SN: 22103-UP

1шт.

|15

362-J89-4311

PIPE,(FOR LIVESTOCK RAISING SPEC.)

SN: 18970-22102

1шт.

|15

362-J89-4310

PIPE,(FOR LIVESTOCK RAISING SPEC.)

SN: 18604-18969

1шт.

16

YM121120-13580

CLAMP

SN: 15473-UP

1шт.

|16

207-09-11110

CLAMP

SN: 15001-15472

1шт.

17

01435-01060

BOLT

SN: 15473-UP

1шт.

18

01596-01009

NUT

SN: 15473-UP

1шт.

19

01643-31032

WASHER

SN: 15473-UP

2шт.

Выбрано товаров: 35