Запчасти Komatsu WA30-5-X ОСНОВН. НАСОС (ПОРШЕНЬ НАСОС ВНУТР. ЧАСТИ)(№9-789) ОСНОВН. КОМПОНЕНТЫ И РЕМКОМПЛЕКТЫ

Схема запчастей Komatsu WA30-5-X - ОСНОВН. НАСОС (ПОРШЕНЬ НАСОС ВНУТР. ЧАСТИ)(№9-789) ОСНОВН. КОМПОНЕНТЫ И РЕМКОМПЛЕКТЫ
FIT
1:1
100%

Артикул

Название

Примечание

Количество

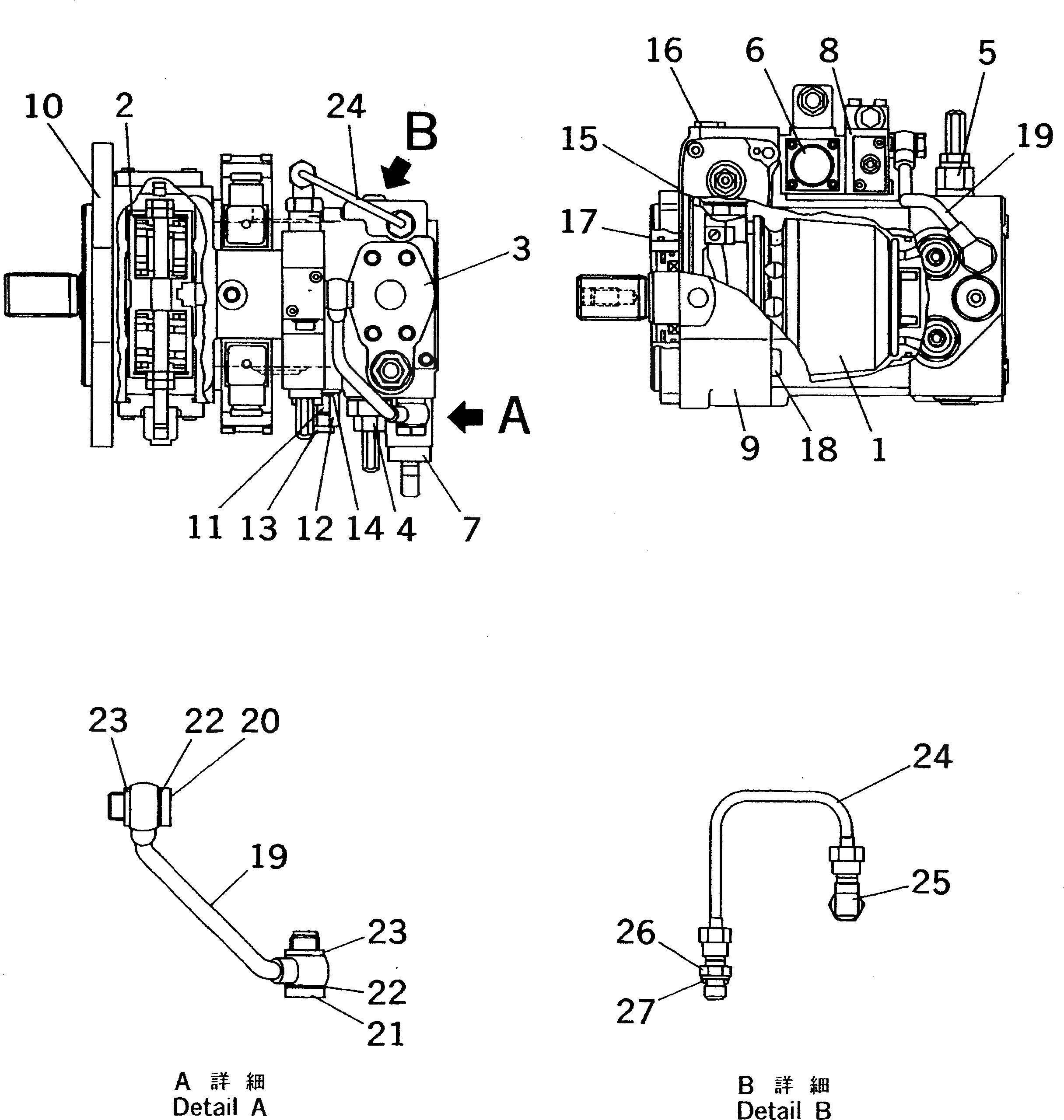
|1

362-17-41101

PUMP ASS'Y,(A4V40DA-985-0)

SN: 16159-17839

1шт.

|$$2

THIS ASSEMBLY CONSISTS OF ALL PARTS SHOWN IN FIGS.Y1610-01A0B T0 Y1610-07A0.

-1шт.

|$$3

-1шт.

|1

UCB1141R9845-0

PUMP ASS'Y,PISTON

SN: 16159-17839

1шт.

|$$5

THIS ASSEMBLY CONSISTS OF ALL PARTS SHOWN IN FIGS.Y1610-02A0A T0 Y1610-06A0.

-1шт.

1

0

ROTARY ASS'Y

SN: 16159-17839

1шт.

2

0

CYLINDER ASS'Y,LEANING

SN: 16007-17839

1шт.

3

0

COVER ASS'Y

SN: 16159-17839

1шт.

4

UC4100342536

RELIEF VALVE ASS'Y,HIGH PRESSURE

SN: 15001-17839

2шт.

5

UC4100337286

RELIEF VALVE ASS'Y,LOW PRESSURE

SN: 15001-17839

1шт.

6

0

CONTROL VALVE ASS'Y

SN: 15001-17839

1шт.

7

UC4100337617

DA CURTRIDGE ASS'Y

SN: 15001-17839

1шт.

8

UC4100368639

VALVE ASS'Y,CUT-OFF

SN: 16159-17839

1шт.

9

0

HOUSING

SN: 15806-17839

1шт.

10

0

FLANGE

SN: 15001-17839

1шт.

11

0

PIN

SN: 15806-17839

1шт.

12

UC1181712007

NUT

SN: 15806-17839

1шт.

13

UC1701516926

PLUG

SN: 15806-17839

1шт.

14

UC1301180006

O-RING

SN: 15806-17839

1шт.

15

0

GUIDE

SN: 15001-17839

1шт.

16

UC1607054546

PLUG

SN: 15001-17839

3шт.

|16

416-62-11480

O-RING

SN: 15001-17839

1шт.

17

02892-03075

O-RING

SN: 15001-17839

1шт.

18

01252-31270

BOLT

SN: 15001-17839

4шт.

|19

UC4100335895

PIPE ASS'Y,LOW PRESSURE

SN: 15001-17839

1шт.

19

UC1704003607

PIPE

SN: 15001-17839

1шт.

20

UC1701543836

JOINT

SN: 15001-17839

1шт.

21

UC1100356217

JOINT,WITH FILTER

SN: 15001-17839

1шт.

22

UC1700840365

PACKING

SN: 15001-17839

2шт.

23

UC1701532184

RING,SEAL

SN: 15001-17839

2шт.

|24

UC4100360497

PIPE ASS'Y,HIGH PRESSURE

SN: 16159-17839

1шт.

24

UC1100360279

PIPE

SN: 16159-17839

1шт.

25

UC1100336864

ELBOW

SN: 16159-17839

1шт.

26

UC1100360289

JOINT

SN: 16159-17839

1шт.

27

07000-12011

O-RING

SN: 16159-17839

1шт.

Выбрано товаров: 0