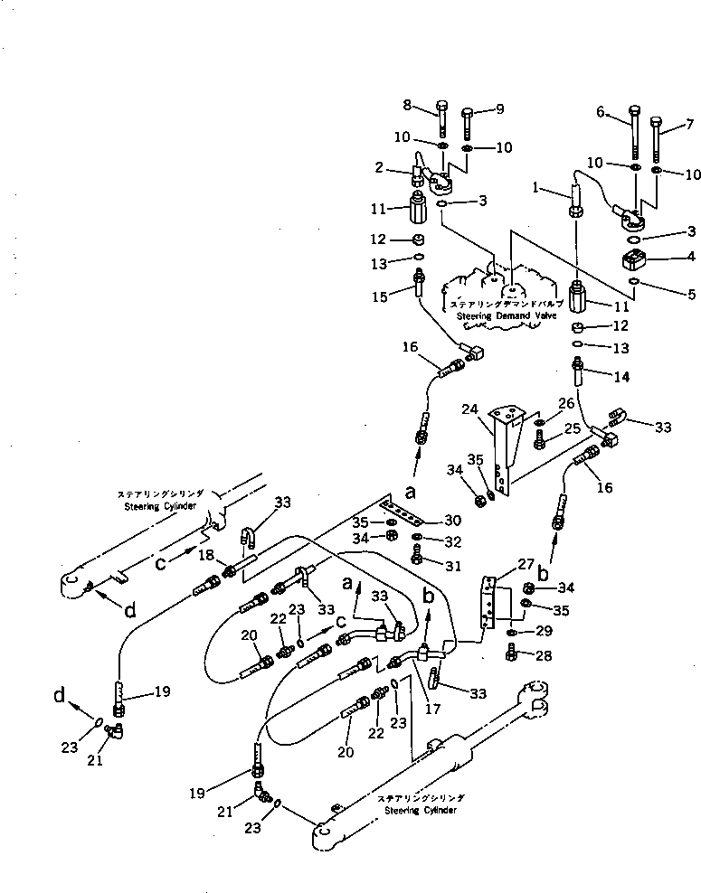
Запчасти Komatsu WA300-1 РУЛЕВ. УПРАВЛЕНИЕ МАСЛОПРОВОДЯЩАЯ ЛИНИЯ(№-) РУЛЕВ. УПРАВЛЕНИЕ И СИСТЕМА УПРАВЛЕНИЯS

Схема запчастей Komatsu WA300-1 - РУЛЕВ. УПРАВЛЕНИЕ МАСЛОПРОВОДЯЩАЯ ЛИНИЯ(№-) РУЛЕВ. УПРАВЛЕНИЕ И СИСТЕМА УПРАВЛЕНИЯS
FIT
1:1
100%

Артикул

Название

Примечание

Количество

1

419-62-11222

TUBE

SN: 20001-UP

1шт.

2

419-62-11241

TUBE

SN: 11115-UP

1шт.

3

07000-13030

O-RING

SN: 10001-UP

2шт.

4

419-62-13510

FLANGE

SN: 10001-UP

1шт.

5

07000-13025

O-RING

SN: 10001-UP

1шт.

6

6138-11-4870

BOLT

SN: 11115-UP

2шт.

7

6132-11-4690

BOLT

SN: 11115-UP

2шт.

8

419-09-11330

BOLT

SN: 11115-UP

2шт.

9

21T-72-17890

BOLT

SN: 11115-UP

2шт.

10

01643-50823

WASHER

SN: 10001-UP

8шт.

11

416-62-11110

BODY

SN: 20001-UP

2шт.

12

419-62-11440

POPPET

SN: 20001-UP

2шт.

13

07002-13034

O-RING

SN: 10001-UP

2шт.

14

419-62-11430

TUBE

SN: 20001-UP

1шт.

15

419-62-11420

TUBE

SN: 20001-UP

1шт.

16

07086-00507

HOSE

SN: 20001-UP

2шт.

17

419-62-11131

TUBE

SN: 20001-UP

1шт.

18

419-62-11141

TUBE

SN: 20001-UP

1шт.

19

07086-00407

HOSE

SN: 10001-UP

2шт.

20

07086-00408

HOSE

SN: 20001-UP

2шт.

21

07235-10422

ELBOW

SN: 10001-UP

2шт.

22

07230-10422

UNION

SN: 10001-UP

2шт.

23

07002-12034

O-RING

SN: 10001-UP

4шт.

24

419-62-11410

BRACKET

SN: 20001-UP

1шт.

25

01010-51020

BOLT

SN: 20001-UP

3шт.

26

01643-31032

WASHER

SN: 20001-UP

3шт.

27

419-62-11150

PLATE

SN: 10001-UP

1шт.

28

01010-51020

BOLT

SN: 10001-UP

2шт.

29

01643-31032

WASHER

SN: 10001-UP

2шт.

30

419-62-11160

PLATE

SN: 10001-UP

1шт.

31

01010-51025

BOLT

SN: 10001-UP

2шт.

32

01643-31032

WASHER

SN: 10001-UP

2шт.

33

07283-22236

CLIP

SN: 20001-UP

6шт.

34

01599-01011

NUT

SN: 20001-UP

14шт.

35

01643-31032

WASHER

SN: 20001-UP

14шт.

Выбрано товаров: 35