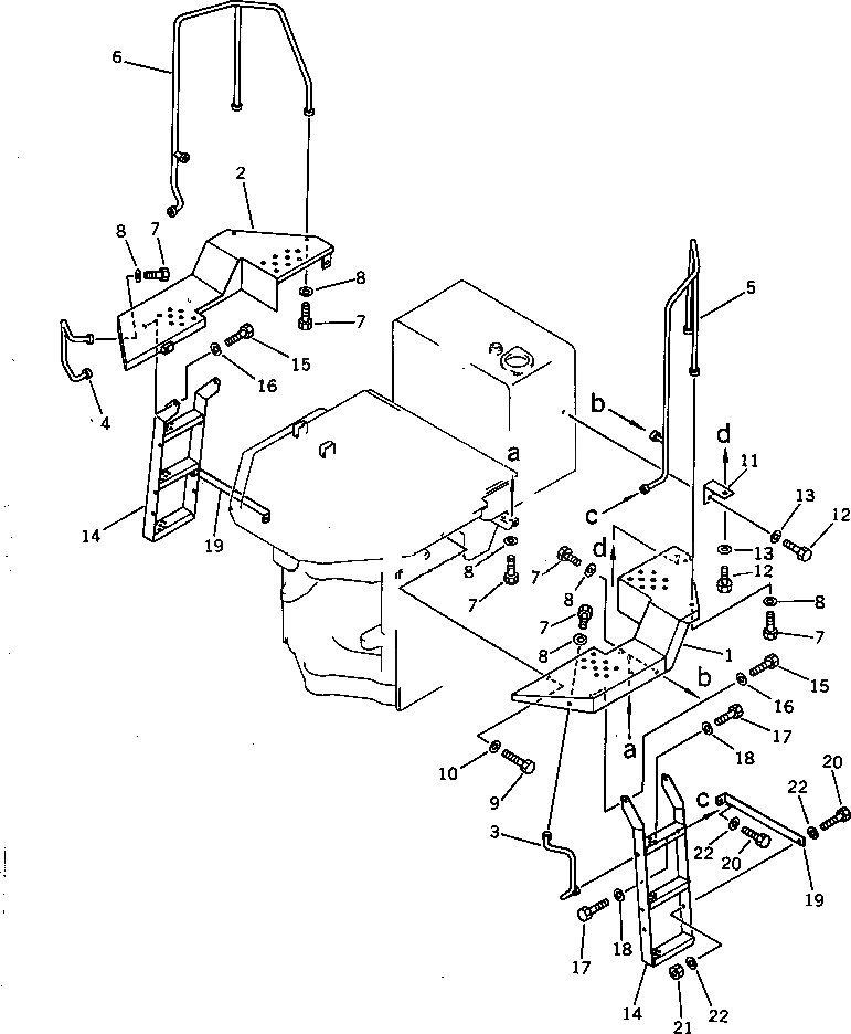
Запчасти Komatsu WA300-1 КРЫЛО И ЛЕСТНИЦА(№-) РАМА И ЧАСТИ КОРПУСА

Схема запчастей Komatsu WA300-1 - КРЫЛО И ЛЕСТНИЦА(№-) РАМА И ЧАСТИ КОРПУСА
FIT
1:1
100%

Артикул

Название

Примечание

Количество

1

419-54-11561

FENDER,L.H.

SN: 20001-UP

1шт.

2

419-54-11551

FENDER,R.H.

SN: 20001-UP

1шт.

3

419-54-12161

HANDRAIL,L.H.

SN: 10001-UP

1шт.

4

419-54-12171

HANDRAIL,R.H.

SN: 10001-UP

1шт.

5

419-54-12182

HANDRAIL,L.H.

SN: 10001-UP

1шт.

6

419-54-12192

HANDRAIL,R.H.

SN: 10001-UP

1шт.

7

01010-51225

BOLT

SN: 10001-UP

12шт.

8

01643-31232

WASHER

SN: 10001-UP

12шт.

9

01010-51245

BOLT

SN: 10001-UP

4шт.

10

01643-31232

WASHER

SN: 10001-UP

4шт.

11

419-54-11750

BRACKET

SN: 20001-UP

2шт.

12

01010-51230

BOLT

SN: 20001-UP

4шт.

13

01643-31232

WASHER

SN: 20001-UP

4шт.

14

419-54-12131

LADDER

SN: 10001-UP

2шт.

15

01010-51235

BOLT

SN: 10001-UP

4шт.

16

01643-31232

WASHER

SN: 10001-UP

4шт.

17

01010-51230

BOLT

SN: 10001-UP

4шт.

18

01643-31232

WASHER

SN: 10001-UP

4шт.

19

419-54-12150

STAY

SN: 10001-UP

2шт.

20

01010-51240

BOLT

SN: 10001-UP

4шт.

21

01580-11210

NUT

SN: 10001-UP

2шт.

22

01643-31232

WASHER

SN: 10001-UP

6шт.

Выбрано товаров: 22